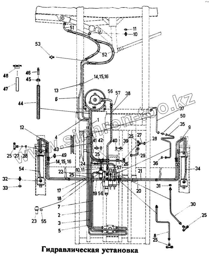
Каталог запасных частей к технике: Fortschritt Е-303. Гидравлическая установка
1
2
3
4
5
6
7
8
9
10
10
11
11
12
13
14
14
15
15
16
16
17
18
19
20
21
22
23
24
25
25
25
25
25
25
26
27
27
28
28
29
30
31
32
33
34
35
36
37
38
39
40
41
42
43
44
45
46
47
48
49
50
51
52
53
54
55
56
56
57
57
| Позиция на иллюстрации | Заводской номер детали | Название детали | |
|---|---|---|---|
| 1 | 4131 77285 8 | Соединение шланговое | |
| 2 | 4131 77556 3 | Трубопровод входной | |
| 3 | 4131 77557 1 | Трубопровод управления, левый | |
| 4 | 4131 77264 0 | Трубопровод управления, левый | |
| 5 | 4131 77558 8 | Трубопровод управления, правый | |
| 6 | 4131 77271 2 | Трубопровод управления, правый | |
| 7 | 4131 77559 6 | Трубопровод соединительный | |
| 8 | 4131 77273 7 | Трубопровод жатки | |
| 9 | 4131 77575 6 | Труба, левая | |
| 10 | 9969 94536 8 | Штуцер резьбовой | |
| 11 | 9970 90851 3 | Кольцо уплотнительное | |
| 12 | 4131 77576 4 | Труба, правая | |
| 13 | 4221 61655 6 | Пластина зажимная | |
| 14 | 9932 95956 1 | Болт шестигранный | |
| 15 | 9950 89571 1 | Гайка шестигранная | |
| 16 | 9961 91084 7 | Кольцо пружинное | |
| 17 | 4131 77279 4 | Трубопровод жатки, правый | |
| 18 | 4131 78656 6 | Трубопровод жатки, правый | |
| 19 | 4131 77562 7 | Трубопровод обратный | |
| 20 | 4131 78657 4 | Трубопровод жатки, левый | |
| 21 | 4131 77277 8 | Трубопровод жатки, левый | |
| 22 | 4131 77561 0 | Трубопровод обратный | |
| 23 | 4131 77619 5 | Клапан ограничения давления | |
| 24 | 4131 77560 2 | Трубопровод соединительный | |
| 25 | 9969 94701 5 | Штуцер соединительный | |
| 26 | 4131 77555 5 | Колено трубы | |
| 27 | 9903 88669 4 | Шарик | |
| 28 | 9952 89860 8 | Гайка накидная | |
| 29 | 4131 77554 7 | Колено трубы | |
| 30 | 4131 77274 5 | Трубопровод жатки | |
| 31 | 4032 80365 1 | Шайба дроссельная | |
| 32 | 9969 94572 0 | Штуцер резьбовой | |
| 33 | 9970 90900 8 | Кольцо уплотнительное | |
| 34 | 4131 77577 2 | Труба, левая | |
| 35 | 4131 77666 0 | Трубопровод вариатора | |
| 36 | 4221 61482 7 | Шайба дроссельная | |
| 37 | 4131 77667 7 | Трубопровод вариатора | |
| 38 | 9908 95330 6 | Шлангопровод | |
| 39 | 9969 94509 5 | Штуцер резьбовой | |
| 40 | 9907 91506 1 | Кольцо круглого сечения | |
| 41 | 9969 94508 7 | Штуцер резьбовой | |
| 42 | 9907 91334 0 | Кольцо круглого сечения | |
| 43 | 9910 95190 4 | Лента фиксирующая | |
| 44 | Шланг полихлорвиниловый | Шланг полихлорвиниловый | |
| 45 | 9951 89874 6 | Гайка накидная | |
| 46 | 4221 61415 2 | Трубка | |
| 47 | 9910 95168 0 | Лента зажимная | |
| 48 | 9910 95217 5 | Зажим шланга | |
| 49 | 9969 94651 2 | Штуцер соединительный | |
| 50 | 9969 94712 8 | Штуцер соединительный | |
| 51 | 4131 77282 5 | Колено трубы | |
| 52 | 9908 95326 7 | Шлангопровод | |
| 53 | 4221 60966 1 | Штуцер соединительный | |
| 54 | 4131 77578 0 | Труба, правая | |
| 55 | 9907 91480 7 | Кольцо круглого сечения | |
| 56 | 4131 78860 7 | Колено трубы | |
| 57 | 9969 94716 0 | Штуцер соединительный |
Содержащиеся в справочниках-каталогах запасные части и детали не предлагаются к продаже, а носят исключительно информационный характер