Каталог запасных частей к технике: Fortschritt Е-281-С. Гидравлическая система - Орбитрол
3
3
4
5
7
8
8
9
10
11
12
13
14
15
16
17
18
18
18
19
20
20
20
20
21
24
25
26
27
28
29
29
30
31
32
33
34
35
36
37
37
38
38
38
39
40
41
42
42
43
44
44
44
45
46
47
48
49
50
59
60
60
60
61
62
63
64
65
65
65
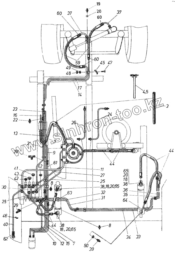
| Позиция на иллюстрации | Заводской номер детали | Название детали | |
|---|---|---|---|
| 3 | 4031 83126 2 | Шланг | |
| 4 | 9910 95190 4 | Лента фиксирующая | |
| 5 | 9910 95191 2 | Лента фиксирующая | |
| 7 | 4032 80338 7 | Входная линия | |
| 8 | 9969 94672 1 | Соединительный патрубок L12-02 | |
| 9 | 4031 83125 4 | Входная линия | |
| 10 | 4032 80340 1 | Соединительная линия | |
| 11 | 4031 83154 3 | Обратная линия | |
| 12 | 4032 80342 6 | Трубопровод управления, левый | |
| 13 | 4032 80343 4 | Трубопровод управления, левый | |
| 14 | 4032 80344 2 | Трубопровод управления, левый | |
| 15 | 4032 80345 0 | Трубопровод управления, правый | |
| 16 | 4032 80346 7 | Трубопровод управления, правый | |
| 17 | 4032 80347 5 | Трубопровод управления, правый | |
| 18 | 9969 94634 4 | Кольцевой штуцер 12 | |
| 19 | 9969 94535 1 | Ввертный штуцер L12М-01 | |
| 20 | 9970 90851 3 | Кольцо уплотнительное | |
| 21 | 4031 83054 2 | Трубопровод вариатора | |
| 24 | 4032 80350 6 | Трубопровод выбросного дефлектора | |
| 25 | 4032 80351 4 | Трубопровод выбросного дефлектора | |
| 26 | 4032 80352 2 | Трубопровод выбросного дефлектора | |
| 27 | 4032 80353 0 | Трубопровод выбросного дефлектора | |
| 28 | 4032 80354 7 | Трубопровод приемного устройства | |
| 29 | 9969 94701 5 | Штуцер соединительный | |
| 30 | 4032 80355 5 | Трубопровод приемного устройства | |
| 31 | 4032 81233 0 | Труба, в сборе | |
| 32 | 4032 81234 7 | Труба, в сборе | |
| 33 | 4032 81235 5 | Труба, в сборе | |
| 34 | 4032 81236 3 | Труба, в сборе | |
| 35 | 4032 80360 2 | Трубопровод приемного устройства | |
| 36 | 4032 80361 0 | Трубопровод приемного устройства | |
| 37 | 4032 80362 7 | Колено трубы | |
| 38 | 9946 92760 4 | Пустотелый винт А12 | |
| 39 | 9969 94539 2 | Штуцер 18х12х160 | |
| 40 | 4032 80363 5 | Трубопровод мотовила | |
| 41 | 4032 80364 3 | Дроссельная шайба | |
| 42 | 4221 61482 7 | Шайба дроссельная | |
| 43 | 4032 80365 1 | Шайба дроссельная | |
| 44 | 9908 95161 8 | Шлангопровод АА8х630/8:10 | |
| 45 | 4221 61655 6 | Пластина зажимная | |
| 46 | 9923 92480 0 | Крепежная скоба А1х12 | |
| 47 | 9933 92945 0 | Болт шестигранный | |
| 48 | 9950 89571 1 | Гайка шестигранная | |
| 49 | 9961 91085 5 | Кольцо пружинное | |
| 50 | 9970 90900 8 | Кольцо уплотнительное | |
| 59 | 9908 95326 7 | Шлангопровод | |
| 60 | 4221 60966 1 | Штуцер соединительный | |
| 61 | 4031 82789 3 | Входной трубопровод | |
| 62 | 9909 95237 8 | Шланговая полумуфта А1-10/160 | |
| 63 | 1105 20733 2 | Скоба | |
| 64 | 4131 77283 3 | Колено трубы | |
| 65 | 1105 19906 6 | Редукционный элемент | |
| 66 | 4031 83124 6 | Всасывающая труба |
Содержащиеся в справочниках-каталогах запасные части и детали не предлагаются к продаже, а носят исключительно информационный характер