Каталог запасных частей к технике: DongFeng 404G2. Gearbox (A)
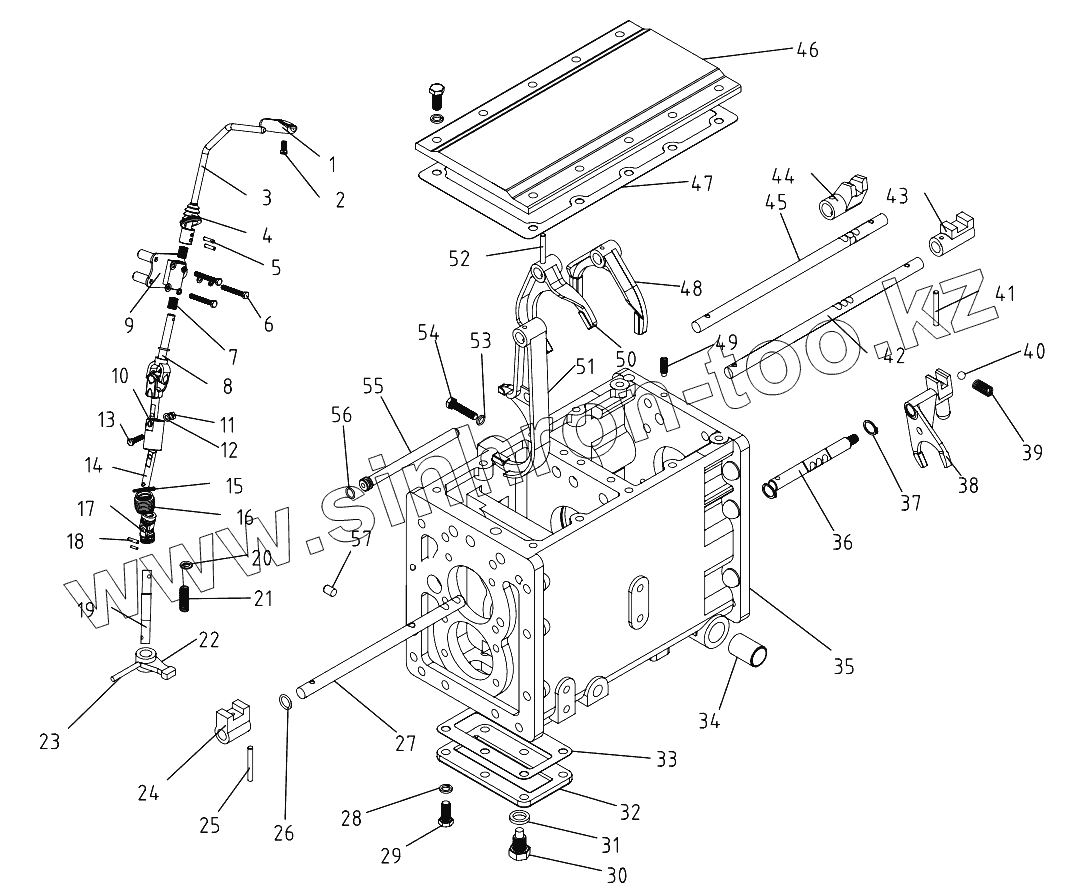
1
2
3
4
5
6
7
8
9
10
11
12
13
14
15
16
17
18
19
20
21
22
23
24
25
26
27
28
29
30
31
32
33
34
35
36
37
38
39
40
41
42
43
44
45
46
47
48
49
50
51
52
53
54
55
56
57
| Позиция на иллюстрации | Заводской номер детали | Название детали | |
|---|---|---|---|
| 1 | 504G3.29.020 | Shift level handle | |
| 2 | GB/T 845-1985-ST4.2x13 | Bolt ST4.2x13 | |
| 3 | 504G3-E.29.019 | Shift level | |
| 4 | 504G3.29.131 | Dust cap | |
| 5 | GB/T879.1-2000- (6+4)x26 | Slotted spring pin (6+4)x26 | |
| 6 | GB/T5783-2000-M8x60 | Hex. head bolt M8x60 | |
| 7 | JB/T7918-1997-K15x19x17 | Needle roller bearing K15x19x17 | |
| 8 | 404G2-6F.37.016 | Gimbal | |
| 9 | 404G2-6F.37.017 | Automotive frame | |
| 10 | 404G2-6F.37.125 | Adjusting plate | |
| 11 | GB/T6170-2000-M8 | Hex. Nut M8 | |
| 12 | GB/T97.1-2002-8 | Plain washer 8 | |
| 13 | GB/T5783-2000-M8x35 | Hex. Head bolt M8x35 | |
| 14 | 404G2-6F.37.122 | Joint shaft | |
| 15 | 504G3.29.112 | Circlip for shaft 28 | |
| 16 | 504G3.29.127 | Safety cover | |
| 17 | 504G3.29.015 | Gimbal | |
| 18 | GB/T879.1-2000- (6+4)x28 | Slotted spring pin (6+4)x28 | |
| 19 | 404G2-6F.37.121 | Joint shaft | |
| 20 | GB/T97.1-2002-16 | Plain washer 16 | |
| 21 | 304G2.37.118-1 | Pressure spring | |
| 22 | 304G2.37.120 | Sliding lever | |
| 23 | GB/T879.1-2000- (6+4)x30 | Slotted spring pin | |
| 24 | 304G2.37.128 | Patrol sliding block | |
| 25 | GB/T879.1-2000-5x32 | Slotted spring pin 5x32 | |
| 26 | GB/T3452.1-1992-15x2.65 | O-ring seal 10.6x2.65 | |
| 27 | 304G2.37.129 | Patrol fork shaft | |
| 28 | GB/T93-1987-10 | Spring lock washer 10 | |
| 29 | GB/T5783-2000-M10x25 | Hex. head bolt M10x25 | |
| 30 | 200.38.024 | Oil drain plug | |
| 31 | JB-FT-CU-16 | Copper washer 16 | |
| 32 | 300.37.150 | Bottom cover | |
| 33 | 300.37.151 | Paper gasket | |
| 34 | 200.38.144-3 | Bush | |
| 35 | 404G2-6F.37.110 | Gearbox housing | |
| 36 | 404G2-6F.37.105 | Range gear shift fork shaft | |
| 37 | GB/T894.1-1986-15 | Circlip for shaft 15 | |
| 38 | 404G2-6F.37.103 | Shifting fork high - low speed range | |
| 39 | 200.37.127-1 | Shift fork positioning spring | |
| 40 | GB/T308-2002-9.5 | Steel ball 9.5 | |
| 41 | GB/T879.4-2000-6x24 | Slotted spring pin 6x24 | |
| 42 | 404G2-6F.37.106 | Shaft, - shift fork | |
| 43 | 404G2-6F.37.102 | Intermediate Sliding block | |
| 44 | 404G2-6F.37.101 | Right Sliding block | |
| 45 | 404G2-6F.37.107 | Shaft, - shift fork | |
| 46 | 304G2.37.103 | Gearbox cover | |
| 47 | 304G2.37.102 | Paper gasket , gearbox cover | |
| 48 | 304G2.37.114 | I-II Fork | |
| 49 | GB/T75-1985-M8x30 | Blot M8x30 | |
| 50 | 304G2.37.112 | III-IV Fork | |
| 51 | 304G2.37.130 | Patrol fork | |
| 52 | GB/T879.1-2000-5x26 | Slotted spring pin 5x26 | |
| 53 | JB-FT-CU-12 | Combined seal washer 12 | |
| 54 | GB/T5783-2000-M12x25 | Hex. head bolt M12x25 | |
| 55 | 304G2.37.155 | Patrol fork middle shaft | |
| 56 | GB/T3452.1-1992-11.2x2.65 | O-ring seal 11.2x2.65 | |
| 57 | 450.37.102 | Mutual locking plunger |
Содержащиеся в справочниках-каталогах запасные части и детали не предлагаются к продаже, а носят исключительно информационный характер