Каталог запасных частей к технике: DongFeng 404CE. Cylinder Head Assembly
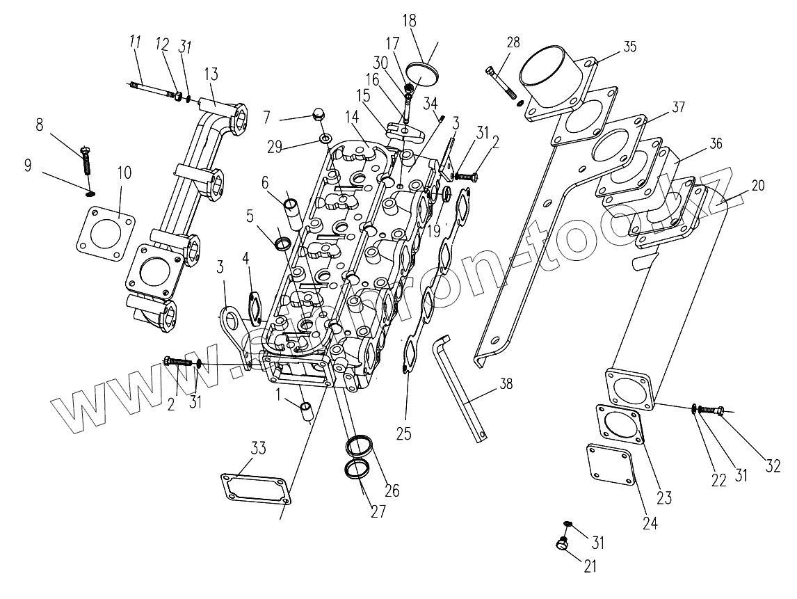
1
2
2
3
3
4
5
6
7
8
9
10
11
12
13
14
15
16
17
18
19
20
21
22
23
24
25
26
27
28
29
30
31
31
31
31
31
32
33
34
35
36
37
38
| Позиция на иллюстрации | Заводской номер детали | Название детали | |
|---|---|---|---|
| 1 | N85-02101A | Sleeve | |
| 2 | GB/T5782-2000-M8x20 | Bolt M8x20 | |
| 3 | N85-02004 | Lifting eye | |
| 4 | N485Q-10002H | Manifo | |
| 5 | N85-02109 | Expansion plugd26 | |
| 6 | N85-02105 | Valve guide | |
| 7 | GB/T923-88-M8 | Nut M8 | |
| 8 | GB/T5783-2000-M10x30 | Hex. head bolt M10x30 | |
| 9 | GB/T93-87-10 | Washer 10 | |
| 10 | N85T-20001 | Exhaust Gasket | |
| 11 | GB/T899-88-M8x75 | Stud M8x75 | |
| 12 | GB/T6170-2000-M8 | Hex. Nut M8 | |
| 13 | N485T-10001 (E) | Exhaust manifold | |
| 14 | 4B26-021008 | Cylinder head | |
| 15 | 4L68-020009 | Injector clamping plate | |
| 16 | GB/T899-88-M10x50 | Bolt M10x50 | |
| 17 | GB/T6170-2000-M10 | Hex .nut M10 | |
| 18 | N85-02104 | Expansion plug 55 | |
| 19 | N85-02102 | Expansion plugd20 | |
| 20 | N485T-09001 (F) | Intake manifold | |
| 21 | GB/T5783-2000-M8x20 | Hex. head bolt M8x20 | |
| 22 | GB/T97.1-2002-8 | Plain washer 8 | |
| 23 | N485-09006 | Gasket | |
| 24 | N485-09005 | Cover | |
| 25 | ZN490QA-02005 | Intake manifold gasket | |
| 26 | 4L68-021007 | Intake vlvae seat | |
| 27 | 4L68-021006 | Exhaust valve seat | |
| 28 | GB/T5783-2000-M8x16 | Hex. head bolt M8x16 | |
| 29 | QJ/MD05.01-8 | Washer 8 | |
| 30 | GB/T899-88-M10x50 | Bolt M10x50 | |
| 31 | GB/T859-87-8 | Washer 8 | |
| 32 | GB/T5782-2000-M8x28 | Bolt M8x28 | |
| 33 | N85Q-17004 | Thermostat shell gasket | |
| 34 | 4B26-020027 | Heater plug | |
| 35 | N390T-09002 (M) | Intake joint pipe | |
| 36 | N485Q-09100 | Air heater | |
| 37 | N485Q-09012 (B) | ||
| 38 | ZN485T-09011 | Support |
Содержащиеся в справочниках-каталогах запасные части и детали не предлагаются к продаже, а носят исключительно информационный характер