Вернуться на главную
Поиск
Каталоги запчастей к технике
Сельхозтехника
ДКЗ
СПС-4,2А
Система автоконтроля свеклопогрузчика
Каталог запасных частей к технике: ДКЗ СПС-4,2А. Система автоконтроля свеклопогрузчика
zoom-in
zoom-out
enlarge
shrink
circle-right
circle-left
file-text2
info
cart
Тип техники
Не выбрано
Легковые автомобили
Грузовые автомобили и прицепы
Автобусы
Сельхозтехника
Спецтехника
Двигатели
Мототехника
Марка
Не выбрано
AGCO
Amity
CASE IH
DongFeng
Fortschritt
Foton
Franz Kleine
Gaspardo
Great Plains
KRONE
KUHN
Lemken
Lovol
MacDon
Massey Ferguson
New Holland
TIGARBO
Vaderstad
Versatile
Wirax
Агро
Агротехмаш
Бобруйскагромаш (ОАО «УКХ «Бобруйскагромаш»)
БЭМЗ
ВгТЗ
Воронежсельмаш
ВТЗ
Гомсельмаш
ДКЗ
ЗАО "Техника-сервис"
ЗиД
КЗК
Кировец-Ландтехник
Клевер
Красная Звезда
Лидагропроммаш
Лидсельмаш
ЛТЗ
Машстройхолдинг
Минитракторы
Мордовагромаш
МТЗ
Навигатор-Новое машиностроение
Нефтекамский автозавод
ПТЗ
Ремком
РСМ
Сибсельмаш
ТеКЗ
ТКЗ
ХЗТСШ
ХТЗ
ЮМЗ
Модель
Не выбрано
СПС-4,2А
СПС-4,2А-02
Схема
>
Не выбрано
Свеклопогрузчик-очиститель СПС-4,2А
Ограждение
Механизм подъема
Помост
Помост
Помост
Помост
Трансмиссия
Натяжное устройство
Звездочка силовая
Звездочка силовая
Звездочка в сборе
Натяжное устройство
Натяжное устройство
Натяжное устройство
Редуктор
Редуктор унифицированный
Стакан
Мост ведущий
Шасси
Противовес
Противовес
Рама питателя
Передняя ось с колесами
Ось со ступицей и тормозами
Ось с тормозами
Ось с тормозами
Колесо
Ступица в сборе
Ступица в сборе
Ступица с барабаном
Колесо
Каток
Механизм рулевого управления
Вал
Вал
Тяга
Трубопроводы пневматических тормозов
Рычаг тормоза регулировочный
Камера тормозная ОСТ 23.2.35-81
Электрооборудование свеклопогрузчика
Жгут проводов
Система автоконтроля свеклопогрузчика
Система автоконтроля свеклопогрузчика
Прицепное устройство
Гидросистема свеклопогрузчика СПС-4,2А
Гидросистема свеклопогрузчика СПС-4,2А
Гидросистема свеклопогрузчика СПС-4,2А
Клапан
Цилиндр с ограничителем
Гидросистема кулачкового питателя
Гидросистема кулачкового питателя
Гидросистема кулачкового питателя
Гидросистема управления козырьком и элеватором
Клапан СПТ 16610
Клапан МБС 03050
Сапун
Гидроцилиндр
Гидроцилиндр
Гидроцилиндр
Рукав
Клапан
Заглушка
Автоматический регулятор загрузки
Дроссель
Автоматический регулятор сцепного веса
Рассредоточитель
Шнек
Шнек
Перебрасыватель
Привод
Битер
Привод
Привод
Привод
Отражатель
Подшипниковый узел
Очиститель шнековый
Редуктор шнеков
Трансмиссия питателя
Натяжное устройство
Вал промежуточный
Блок звездочек
Редуктор
Редуктор унифицированный
Предохранительная муфта с сигнализатором
Вал продольный
Подшипниковый узел
Вал раздаточный
Вал правый
Вал левый
Полумуфта соединительная
Транспортер выгрузной
Транспортер выгрузной
Транспортер выгрузной
Транспортер выгрузной
Транспортер выгрузной
Транспортер выгрузной
Тяга
Козырек
Очиститель
Щиток в сборе
Звездочка
Полотно выгрузного транспортера
Полотно выгрузного транспортера
Полотно пруткового транспортера
Ролик ведомый
Блок звездочек
Вал ведущий
Ролик в сборе
Ролик в сборе
Блок звездочек
Блок звездочек
Ролик
Транспортер продольный
Питатель
Питатель
Питатель
Вал кулачковый
Вал битерный
Привод
Привод
Опора
Опора
Шнековый транспортер
Шнек
Шнек
Шнек
Шнек
Привод
Опора
Опора
Опора
Привод
Опора
Опора
Подшипниковый узел
Шнек
Шнек
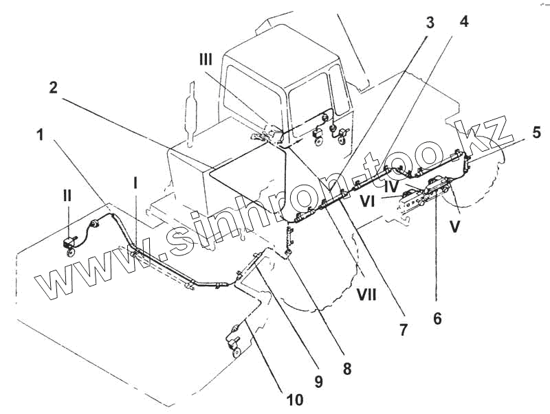
1
2
3
4
5
6
7
8
9
10
Позиция на иллюстрации
Заводской номер детали
Название детали
СПТ-18000
СПТ-18000
Система автоконтроля свеклопогрузчика
1
СПТ-18802
Труба
2
СПТ 18110
Кабель машины
3
РКС6 24060
Кабель питания
4
РКР-46404-04
Желобок 1 = 1060 мм
5
РКР-46404
Желобок 1 = 500 мм
6
СПТ 18804
Труба 14х1,4-10В ТУ 14-3-1181-83 1=450мм
7
БМД 10404-10
Желобок l=400 мм
8
БМД-10603-04
Оплетка 320 мм (47761222035)
9
БМД-10404-01
Желобок 255 мм
10
СПТ-18020
Кабель питания
11
СПТ-18501
Кронштейн
Содержащиеся в справочниках-каталогах запасные части и детали не предлагаются к продаже, а носят исключительно информационный характер
Дополнительная информация
×
Название:
Номер:
Примечание: