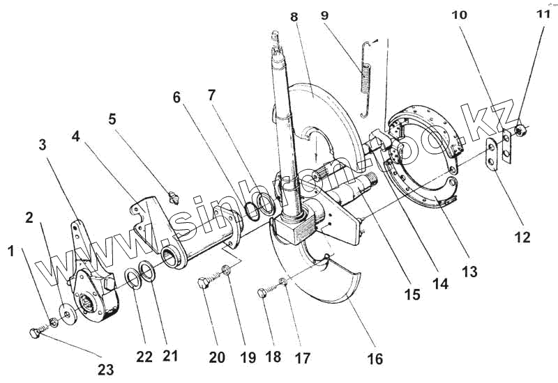
Каталог запасных частей к технике: ДКЗ СПС-4,2А. Ось с тормозами
1
2
3
4
5
6
7
8
9
10
11
12
13
14
15
16
17
18
19
20
21
22
23
| Позиция на иллюстрации | Заводской номер детали | Название детали | |
|---|---|---|---|
| СПТ-19020-01 | СПТ-19020-01 | Ось с тормозами | |
| 1 | Шайба 10.65Г.05 ГОСТ 6402-70 | Шайба 10.65Г.05 ГОСТ 6402-70 | |
| 2 | Н-129.00.42.1 | Шайба | |
| 3 | Рычаг тормоза регулировочный | Рычаг тормоза регулировочный | |
| 4 | Кронштейн со втулками Н.111.07.070 | Кронштейн со втулками Н.111.07.070 | |
| 5 | Масленка 1.3.УХЛ1 ГОСТ 19853-74 | Масленка 1.3.УХЛ1 ГОСТ 19853-74 | |
| 6 | Кольцо 038-046-46-2-2 ГОСТ 18829-73 | Кольцо 038-046-46-2-2 ГОСТ 18829-73 | |
| 7 | Н-111.07.401 | Шайба | |
| 8 | Н-111.07.402 | Щит | |
| 9 | Н-111.07.604 | Пружина | |
| 10 | Н-111.07.403 | Пластина | |
| 11 | Гайка М16х1,5-6Н.6.093 ГОСТ 5916-70 | Гайка М16х1,5-6Н.6.093 ГОСТ 5916-70 | |
| 12 | Н-111.07.404 | Пластина | |
| 13 | Колодка с накладкой Н.111.07.050 | Колодка с накладкой Н.111.07.050 | |
| 14 | Н-111.07.603 | Кулак | |
| 15 | СПТ 19030-01 | Цапфа поворотная | |
| 16 | Н-111.07.402-01 | Щит | |
| 17 | Шайба 6.65Г.05 ГОСТ 6402-70 | Шайба 6.65Г.05 ГОСТ 6402-70 | |
| 18 | Болт М6-6qх22.58.019 ГОСТ 7798-70 | Болт М6-6qх22.58.019 ГОСТ 7798-70 | |
| 19 | Шайба 12.65Г.05 ГОСТ 6402-70 | Шайба 12.65Г.05 ГОСТ 6402-70 | |
| 20 | Болт М12-6qх25.58.019 ГОСТ 7796-70 | Болт М12-6qх25.58.019 ГОСТ 7796-70 | |
| 21 | Н-129.00.419 | Прокладка | |
| 22 | Прокладка Н.129.00.419-01 | Прокладка Н.129.00.419-01 | |
| 23 | Болт М10-6qх20.58.019 ГОСТ 7796-70 | Болт М10-6qх20.58.019 ГОСТ 7796-70 |
Содержащиеся в справочниках-каталогах запасные части и детали не предлагаются к продаже, а носят исключительно информационный характер