Вернуться на главную
Поиск
Каталоги запчастей к технике
Сельхозтехника
ДКЗ
СПС-4,2А-02
Свеклопогрузчик-очиститель СПС-4,2А-02
Каталог запасных частей к технике: ДКЗ СПС-4,2А-02. Свеклопогрузчик-очиститель СПС-4,2А-02
zoom-in
zoom-out
enlarge
shrink
circle-right
circle-left
file-text2
info
cart
Тип техники
Не выбрано
Легковые автомобили
Грузовые автомобили и прицепы
Автобусы
Сельхозтехника
Спецтехника
Двигатели
Мототехника
Марка
Не выбрано
AGCO
Amity
CASE IH
DongFeng
Fortschritt
Foton
Franz Kleine
Gaspardo
Great Plains
KRONE
KUHN
Lemken
Lovol
MacDon
Massey Ferguson
New Holland
TIGARBO
Vaderstad
Versatile
Wirax
Агро
Агротехмаш
Бобруйскагромаш (ОАО «УКХ «Бобруйскагромаш»)
БЭМЗ
ВгТЗ
Воронежсельмаш
ВТЗ
Гомсельмаш
ДКЗ
ЗАО "Техника-сервис"
ЗиД
КЗК
Кировец-Ландтехник
Клевер
Красная Звезда
Лидагропроммаш
Лидсельмаш
ЛТЗ
Машстройхолдинг
Минитракторы
Мордовагромаш
МТЗ
Навигатор-Новое машиностроение
Нефтекамский автозавод
ПТЗ
Ремком
РСМ
Сибсельмаш
ТеКЗ
ТКЗ
ХЗТСШ
ХТЗ
ЮМЗ
Модель
Не выбрано
СПС-4,2А
СПС-4,2А-02
Схема
>
Не выбрано
Свеклопогрузчик-очиститель СПС-4,2А-02
Свеклопогрузчик-очиститель СПС-4,2А-02
Свеклопогрузчик-очиститель СПС-4,2А-02
Свеклопогрузчик-очиститель СПС-4,2А-02
Редуктор
Редуктор
Трансмиссия
Трансмиссия
Трансмиссия
Трансмиссия
Редуктор насоса
Редуктор насоса
Редуктор насоса
Звездочка силовая
Шасси
Шасси
Очиститель шнековый
Шнек в сборе
Труба в сборе
Редуктор
Редуктор
Съемник
Экран
Щиток
Питатель грабельный
Питатель грабельный
Питатель грабельный
Питатель грабельный
Шнековый транспортер
Шнек
Грабельный аппарат
Грабельный аппарат
Грабельный аппарат
Грабельный аппарат
Грабельный аппарат
Грабельный аппарат
Грабельный аппарат
Грабельный аппарат
Грабельный аппарат
Грабельный аппарат
Фиксатор
Переключатель
Переключатель
Переключатель
Переключатель
Переключатель
Тяга
Трансмиссия питателя
Трансмиссия питателя
Трансмиссия питателя
Вал правый
Вал левый
Гидросистема грабельного аппарата
Гидросистема грабельного аппарата
Гидросистема грабельного аппарата
Гидрораспределитель
Маслобак
Клапан
Маслопровод всасывания
Патрубок
Масломер
Фильтр
Гидроцилиндр
Гидросистема грабельного питателя
Гидросистема грабельного питателя
Устройство запорное
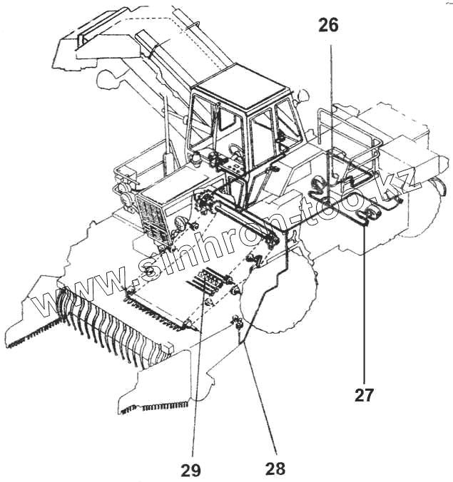
Система автоконтроля свеклопогрузчика
Система автоконтроля свеклопогрузчика
26
27
28
29
Позиция на иллюстрации
Заводской номер детали
Название детали
26
А.29.61.000В01
Кран тормозной
27
СПТ 26000
Трубопроводы пневматических тормозов
28
СПТ17000
Система автоконтроля свеклопогрузчика
29
СПТ-11000
Транспортер продольный
Содержащиеся в справочниках-каталогах запасные части и детали не предлагаются к продаже, а носят исключительно информационный характер
Дополнительная информация
×
Название:
Номер:
Примечание: