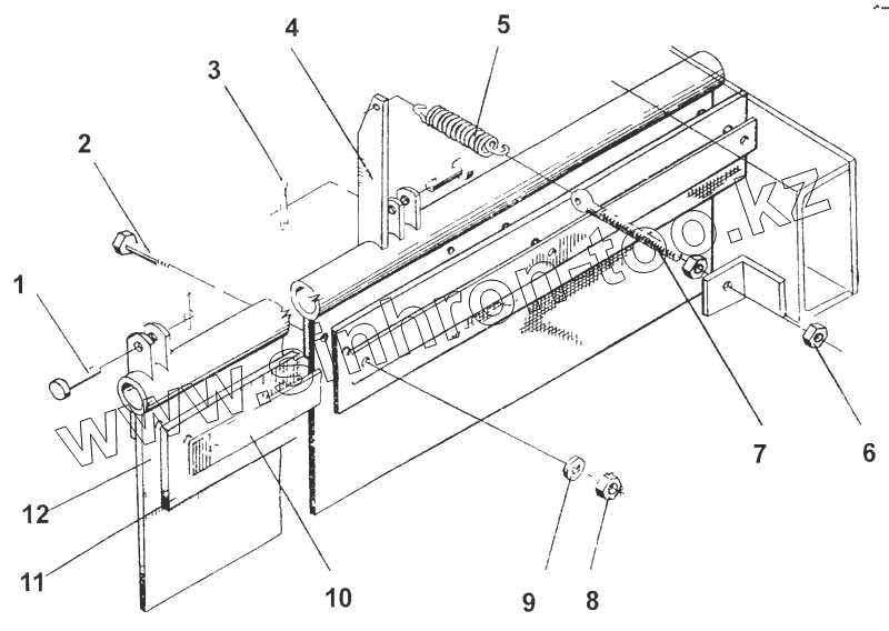
Каталог запасных частей к технике: ДКЗ СПС-4,2А-02. Щиток
1
2
3
4
5
6
7
8
9
10
11
12
| Позиция на иллюстрации | Заводской номер детали | Название детали | |
|---|---|---|---|
| СПТ-02160 | СПТ-02160 | Щиток | |
| 1 | КТ-6119-А | Штырь | |
| 2 | Болт М8-6qх40.58.019 ГОСТ 7795-70 | Болт М8-6qх40.58.019 ГОСТ 7795-70 | |
| 3 | Шплинт 2,5х1,4.019 ГОСТ 397-79 | Шплинт 2,5х1,4.019 ГОСТ 397-79 | |
| 4 | СПТ-02170 | Кронштейн | |
| 5 | КТ-6169 | Пружина | |
| 6 | Гайка М10-6Н.6.019 ГОСТ 5915-70 | Гайка М10-6Н.6.019 ГОСТ 5915-70 | |
| 7 | КТ-6170 | Болт натяжной | |
| 8 | Гайка М8-6Н.6.019 ГОСТ 5915-70 | Гайка М8-6Н.6.019 ГОСТ 5915-70 | |
| 9 | Шайба С.8х1,4.02.019 ГОСТ 11371-78 | Шайба С.8х1,4.02.019 ГОСТ 11371-78 | |
| 10 | СПТ-02514-01 | Планка | |
| 11 | СПТ-02002 | Жесткость | |
| 12 | СПТ-02001 | Щиток |
Содержащиеся в справочниках-каталогах запасные части и детали не предлагаются к продаже, а носят исключительно информационный характер