Каталог запасных частей к технике: ДКЗ СПС-4,2А-02. Грабельный аппарат
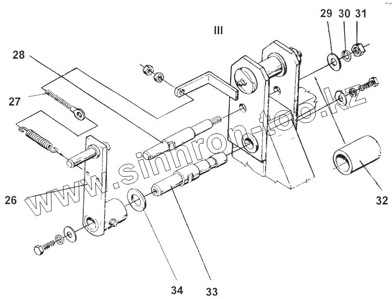
26
27
28
29
30
31
32
33
34
| Позиция на иллюстрации | Заводской номер детали | Название детали | |
|---|---|---|---|
| 26 | СПТ-06060 | Переключатель | |
| 27 | КТ-6170 | Болт натяжной | |
| 28 | СПТ-06604 | Упор | |
| 29 | Шайба С.16 х2.02.093 ГОСТ 11371-78 | Шайба С.16 х2.02.093 ГОСТ 11371-78 | |
| 30 | Шайба 16.65Г.05 ГОСТ 6402-70 | Шайба 16.65Г.05 ГОСТ 6402-70 | |
| 31 | Гайка М16-6Н.6.093 ГОСТ 5915-70 | Гайка М16-6Н.6.093 ГОСТ 5915-70 | |
| 32 | Втулка П28х20Н12 (+0, 210)х50 СТП 304.9.40-86 | Втулка П28х20Н12 (+0, 210)х50 СТП 304.9.40-86 | |
| 33 | СПТ-06614 | Ось выключателей | |
| 34 | БМД-14407 | Шайба специальная |
Содержащиеся в справочниках-каталогах запасные части и детали не предлагаются к продаже, а носят исключительно информационный характер