Каталог запасных частей к технике: Бобруйскагромаш (ОАО «УКХ «Бобруйскагромаш») МЖТ-6. Коммуникация
1
2
3
4
5
5
6
6
7
7
7
7
8
9
10
11
12
13
14
15
16
17
17
18
18
19
20
21
22
23
23
24
25
26
27
28
28
28
29
30
31
32
33
34
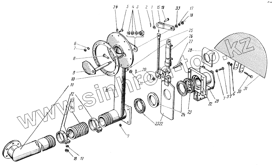
| Позиция на иллюстрации | Заводской номер детали | Название детали | |
|---|---|---|---|
| 1 | А12 ГОСТ 11371-78 | Шайба | |
| 2 | 3,2х28 ГОСТ 397-79 | Шплинт | |
| 3 | МЖТ-10.14.00.601 | Втулка | |
| 4 | АПП6 ГОСТ 5152-84 | Набивка | |
| 5 | М10х25 ГОСТ 7796-70 | Болт | |
| 6 | 10 ГОСТ 6402-70 | Шайба | |
| 7 | М10 ГОСТ 5915-70 | Гайка | |
| 8 | МЖТ-10.00.00.616-16 | Ось | |
| 9 | МЖТ-10.14.04.000 | Заслонка верхняя | |
| 10 | РЖН 00.00.003 | Прокладка | |
| 11 | МЖТ-Ф-6.47.00.000М | Колено | |
| 12 | РЖТ 78.01.000 | Хомут | |
| 13 | М12х45 ГОСТ 7796-70 | Болт | |
| 14 | МЖТ-Ф-6.00.00.002 | Трубопровод | |
| 15 | РЖТ 76.04.00 | Рычаг | |
| 16 | МЖТ-10.14.01.000 | Трубопровод | |
| 17 | 12 ГОСТ 6402-70 | Шайба | |
| 18 | М12 ГОСТ 5915-70 | Гайка | |
| 19 | МЖТ-10.00.00.616 | Ось | |
| 20 | 5х50 ГОСТ 397-79 | Шплинт | |
| 21 | А24 ГОСТ 11371-78 | Шайба | |
| 22 | РЖТ-16.10.00.000 | Заслонка | |
| 23 | РЖН 00.00.002 | Прокладка | |
| 24 | РЖТ 00.102 | Шайба | |
| 25 | РЖТ 76.03.000 | Рычаг | |
| 26 | ПР 22.00.000 | Гидроцилиндр ОСТ 105-208-88 | |
| 27 | МЖТ-10.00.00.616-17 | Ось | |
| 28 | РЖН 00.00.401-02 | Задвижка | |
| 28 | МЖТ-10.00.00.403 | Задвижка | |
| 28 | РЖН 00.00.401-04 | Задвижка | |
| 29 | М10х60 ГОСТ 7796-70 | Болт | |
| 30 | М10х100 ГОСТ 7798-70 | Болт | |
| 31 | МЖТ-Ф-19.05.05.000 | Щиток отражательный | |
| 32 | МЖТ-10.14.02.000 | Патрубок выливной | |
| 33 | А12 ГОСТ 6958-68 | Шайба | |
| 34 | А10 ГОСТ 11371-78 | Шайба |
Содержащиеся в справочниках-каталогах запасные части и детали не предлагаются к продаже, а носят исключительно информационный характер