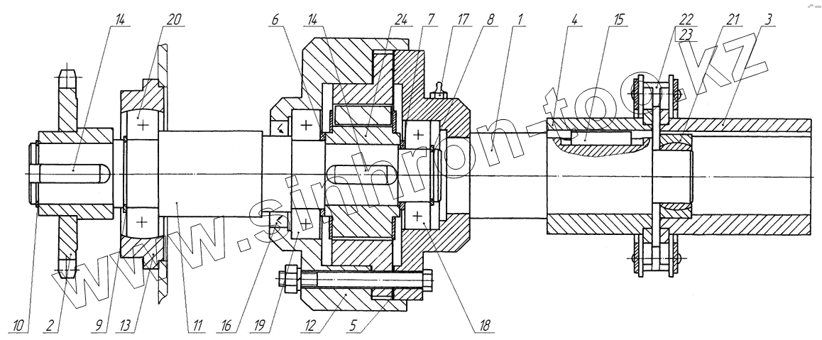
Каталог запасных частей к технике: Бобруйскагромаш (ОАО «УКХ «Бобруйскагромаш») МТТ-4У. Вал привода разбрасывателя
1
2
3
4
5
6
7
8
9
10
11
12
13
14
14
15
16
17
18
19
20
21
22
23
24
| Позиция на иллюстрации | Заводской номер детали | Название детали | |
|---|---|---|---|
| 1 | МВУ-4Ц.01.02.300 | Вал | |
| 2 | МВУ-4Ц.01.02.310 | Звёздочка z=20, t=25,4 | |
| 3 | ПР01.01.010 | Полумуфта | |
| 4 | ПРТ-7А.07.08.020 | Полумуфта | |
| 5 | КРН 2,1.05.001 | Прокладка | |
| 6 | МВУ-4Ц.01.02.411 | Кольцо | |
| 7 | МВУ-4Ц.01.02.411-01 | Кольцо | |
| 8 | ПР11.00.401-01 | Кольцо | |
| 9 | ПР11.00.401-02 | Кольцо | |
| 10 | ПР11.00.401-06 | Кольцо d=40 | |
| 11 | МВУ-4Ц.01.02.621 | Вал | |
| 12 | МВУ-4Ц.01.02.622 | Стакан | |
| 13 | ПР05.607 | Корпус подшипника | |
| 14 | 3-12х8х32 ГОСТ 23380-78 | Шпонка | |
| 15 | 3-14х9х40 ГОСТ 23380-78 | Шпонка | |
| 16 | 1-50х70-3 ГОСТ 8752-79 | Манжета | |
| 17 | 1.2 Ц6 ГОСТ 19853-74 | Маслёнка | |
| 18 | 207 ГОСТ 8338-75 | Подшипник | |
| 19 | 209 ГОСТ 8338-75 | Подшипник | |
| 20 | 1580209 ТУ 37.006.084-88 | Подшипник | |
| 21 | Ш35 ГОСТ 3635-78 | Подшипник шарнирный | |
| 22 | ПР-25,4-60 ГОСТ 13568-97 | Цепь L=990,6 (39 звеньев) | |
| 23 | С-ПР-25,4-60 ГОСТ 13568-97 | Звено | |
| 24 | 105.006.02.070 | Муфта 40-50л ГОСТ 12935-76 |
Содержащиеся в справочниках-каталогах запасные части и детали не предлагаются к продаже, а носят исключительно информационный характер