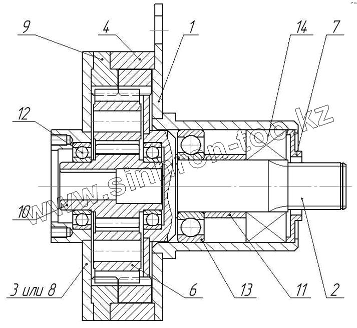
Каталог запасных частей к технике: Бобруйскагромаш (ОАО «УКХ «Бобруйскагромаш») МТТ-4У. Редуктор
1
2
3
4
6
7
8
9
10
11
12
13
14
| Позиция на иллюстрации | Заводской номер детали | Название детали | |
|---|---|---|---|
| 1 | ПРТ-7А.16.20.010 | Крышка | |
| 2 | ПРТ-7А.16.20.020 | Вал выходной | |
| 3 | ПРТ-7А.16.20.060 | Крышка | |
| 4 | ПРТ-7А.16.11.301 | Корпус | |
| 5 | ПРТ-7А.16.11.305 | Шестерня коронная | |
| 6 | ПРТ-7А.16.20.301 | Саттелит | |
| 7 | ПРТ-7А.16.20.302 | Крышка торцовая | |
| 8 | ПРТ-7А.16.20.303 | Крышка | |
| 9 | ПРТ-7А.16.20.304 | Шестерня коронная | |
| 10 | ПРТ-7А.16.20.309 | Шестерня солнечная | |
| 11 | ПРТ-7А.16.20.801 | Втулка | |
| 12 | 80211 ГОСТ 7242-81 | Подшипник | |
| 13 | 312А ГОСТ 8338-75 | Подшипник | |
| 14 | 53612 ГОСТ 24696-81 | Подшипник |
Содержащиеся в справочниках-каталогах запасные части и детали не предлагаются к продаже, а носят исключительно информационный характер