Каталог запасных частей к технике: Бобруйскагромаш (ОАО «УКХ «Бобруйскагромаш») МТТ-4У. Мост с колёсами
1
2
3
4
5
6
7
8
9
10
10
11
11
12
12
13
14
15
16
17
18
19
20
21
22
23
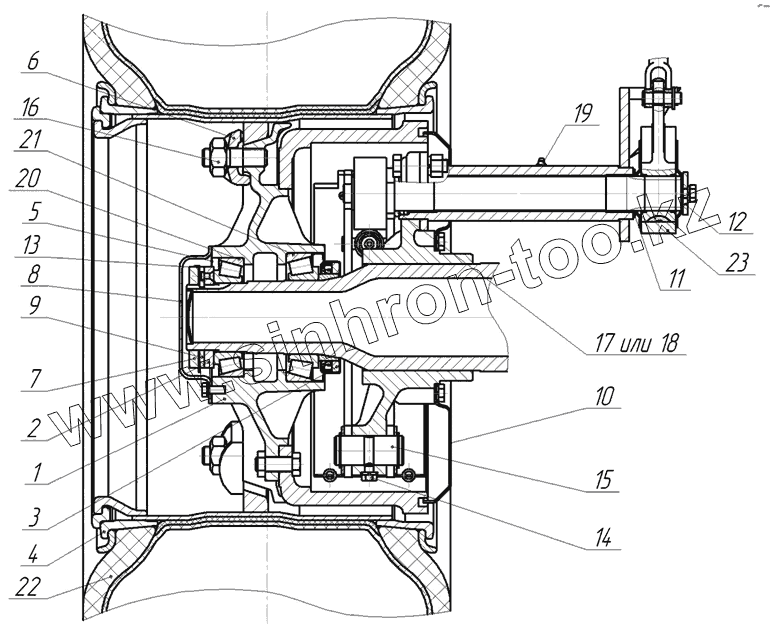
| Позиция на иллюстрации | Заводской номер детали | Название детали | |
|---|---|---|---|
| 1 | Н129.00.010 | Ступица с барабаном | |
| 2 | Н129.00.100 | Гайка | |
| 3 | 086СХ12,8-01.040-01 | Сальник | |
| 4 | 394.3101012 | Колесо бездисковое 330-462 | |
| 5 | Н129.00.005 (7716-3104067) | Прокладка | |
| 6 | Н129.00.302 | Прижим | |
| 7 | Н129.00.415 (120-2401052) | Гайка | |
| 8 | Н129.00.416 | Крышка | |
| 9 | Н129.00.417 (157-2401050) | Шайба | |
| 10 | Н129.00.418 (7716-3502021) | Щит | |
| 10 | Н129.00.418-01 (7716-3502021) | Щит | |
| 11 | Н129.00.419 | Прокладка | |
| 11 | Н129.00.419-01 | Прокладка | |
| 12 | Н129.00.421 | Шайба | |
| 12 | Н129.00.421-01 (500-3502133) | Шайба | |
| 13 | Н129.00.423 | Шайба | |
| 14 | Н129.00.615 (7716-3502022) | Болт стопорный | |
| 15 | Н129.00.618 | Ось колодки | |
| 16 | Н129.00.619 (7716-3107042) | Гайка | |
| 17 | Н129.00.803 | Втулка распорная | |
| 18 | ПРТ-10.03.004 | Втулка | |
| 19 | 1.3 Ц6 ГОСТ 19853-74 | Маслёнка | |
| 20 | 7515А ТУ37.006.162-89 | Подшипник | |
| 21 | 7516А ТУ37.006.162-89 | Подшипник | |
| 22 | 16.5/70-18НС-10 ГОСТ 7463-2003 | Шина | |
| 23 | 105.082.01.070 | Рычаг регулировочный |
Содержащиеся в справочниках-каталогах запасные части и детали не предлагаются к продаже, а носят исключительно информационный характер