Каталог запасных частей к технике: Бобруйскагромаш (ОАО «УКХ «Бобруйскагромаш») КС-Ф-2.1Б-4. Шатун
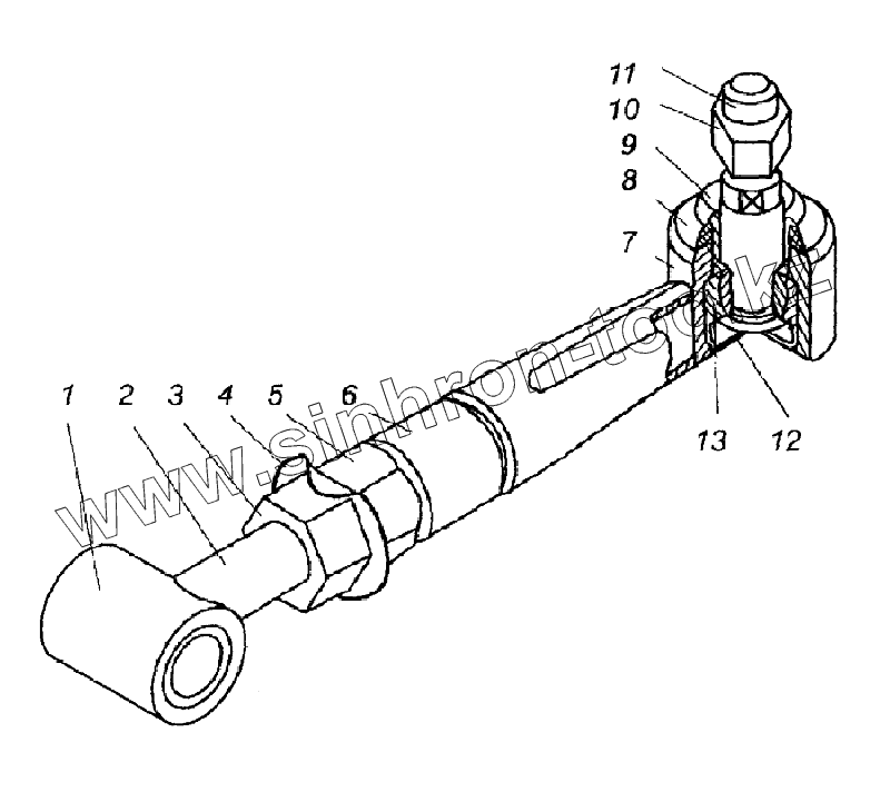
1
2
3
4
5
6
7
8
9
10
11
12
13
| Позиция на иллюстрации | Заводской номер детали | Название детали | |
|---|---|---|---|
| 1 | КНБ 685 | Державка | |
| 2 | Шпилька | Шпилька | |
| 3 | Контргайка | Контргайка | |
| 4 | Стопорная шайба | Стопорная шайба | |
| 5 | Гайка | Гайка | |
| 6 | Шток | Шток | |
| 7 | КНБ 668 | Головка | |
| 8 | Манжета | Манжета | |
| 9 | Втулка | Втулка | |
| 10 | Гайка | Гайка | |
| 11 | КДП 6011А | Палец | |
| 12 | Гайка | Гайка | |
| 13 | ШС 20 | Подшипник |
Содержащиеся в справочниках-каталогах запасные части и детали не предлагаются к продаже, а носят исключительно информационный характер