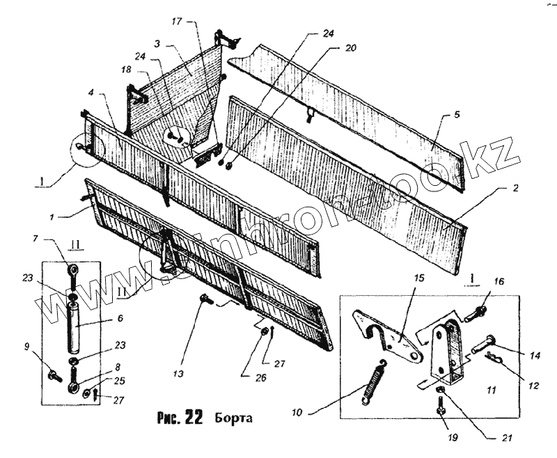
Каталог запасных частей к технике: Бобруйскагромаш (ОАО «УКХ «Бобруйскагромаш») КР-Ф-10. Борта
1
2
3
4
5
6
7
8
9
10
11
12
13
14
15
16
17
18
19
20
21
23
23
24
24
25
26
27
27
| Позиция на иллюстрации | Заводской номер детали | Название детали | |
|---|---|---|---|
| 1 | КР 10.05.00.000 | Борт боковой | |
| 2 | КР 10.05.00 000-01 | Борт боковой | |
| 3 | КР 10.06.00.000 | Борт задний | |
| 4 | КР 10.07.00.000 | Борт надставной | |
| 5 | КР 10.07.00.000-01 | Борт надставной | |
| 6 | ПРТ 7А.04.01.000 | Муфта | |
| 7 | ПРТ 7А.04.01.301 | Винт | |
| 8 | ПРТ 7А.04.01.301-01 | Винт | |
| 9 | МЖТ 10.00.00.616-13 | Ось | |
| 10 | МЖТ 10.00.00.602 | Пружина | |
| 11 | ПРТ 7А.11.02.000 | Рычаг | |
| 12 | ПРТ 7А.00.00 602 | Чека | |
| 13 | ПРТ 7А.00.00.501 | Ось | |
| 14 | ПРТ 7А.11.00.602 | Ось | |
| 15 | ППК Ф 25.00.302 | Защелка | |
| 16 | ПРТ 7А.00.00.601 | Ось | |
| 17 | ПРТ 7А.02.00.001 | Фартук | |
| 18 | М6х20.7798 | Болт | |
| 19 | М8х25.7798 | Болт | |
| 20 | М6.5915 | Гайка | |
| 21 | М8 5915 | Гайка | |
| 22 | М20х1,5 | Гайка | |
| 23 | М20х1,5LH | Гайка | |
| 24 | 6,5958 | Шайба | |
| 25 | 8.11371 | Шайба | |
| 26 | 20,11371 | Шайба | |
| 27 | 5x32.397 | Шплинт |
Содержащиеся в справочниках-каталогах запасные части и детали не предлагаются к продаже, а носят исключительно информационный характер