Вернуться на главную
Поиск
Каталоги запчастей к технике
Сельхозтехника
Бобруйскагромаш (ОАО «УКХ «Бобруйскагромаш»)
ИРК-145
Тяга
Каталог запасных частей к технике: Бобруйскагромаш (ОАО «УКХ «Бобруйскагромаш») ИРК-145. Тяга
zoom-in
zoom-out
enlarge
shrink
circle-right
circle-left
file-text2
info
cart
Тип техники
Не выбрано
Легковые автомобили
Грузовые автомобили и прицепы
Автобусы
Сельхозтехника
Спецтехника
Двигатели
Мототехника
Марка
Не выбрано
AGCO
Amity
CASE IH
DongFeng
Fortschritt
Foton
Franz Kleine
Gaspardo
Great Plains
KRONE
KUHN
Lemken
Lovol
MacDon
Massey Ferguson
New Holland
TIGARBO
Vaderstad
Versatile
Wirax
Агро
Агротехмаш
Бобруйскагромаш (ОАО «УКХ «Бобруйскагромаш»)
БЭМЗ
ВгТЗ
Воронежсельмаш
ВТЗ
Гомсельмаш
ДКЗ
ЗАО "Техника-сервис"
ЗиД
КЗК
Кировец-Ландтехник
Клевер
Красная Звезда
Лидагропроммаш
Лидсельмаш
ЛТЗ
Машстройхолдинг
Минитракторы
Мордовагромаш
МТЗ
Навигатор-Новое машиностроение
Нефтекамский автозавод
ПТЗ
Ремком
РСМ
Сибсельмаш
ТеКЗ
ТКЗ
ХЗТСШ
ХТЗ
ЮМЗ
Модель
Не выбрано
2ПТС-6 (2012)
ГВР-630
ГВР-630 (2012)
ГР-700 (2008)
ИГК-5 (2012)
ИРК-145 (2008)
ИРК-145 (2011)
ИСРВ-12 (2012)
КДН-210 (2003)
КДН-210 (2010)
КДН-210 (2016)
КДП-310 (2013)
КР-Ф-10 (2003)
КС-Ф-2.1Б-4 (2003)
МЖТ-10 (2003)
МЖТ-11 (2008)
МЖТ-6 (2008)
МЖУ-16 (2012)
МТТ-4У (2008)
МТУ-15, МТУ-18 (2012)
МТУ-20, МТУ-24 (2012)
МХС-10 (2013)
ОЛ-140 "Долгунец" (2007)
ОР-1 (2011)
ПКСП-25 (2012)
ПНШ-1 (2009)
ПРЛ-150 (2010)
ПРМ-150 (2012)
ПРТ-10 (2003)
ПРТ-7А (2004)
ПРФ-110, ПРФ-145 (2003)
ПРФ-110, ПРФ-145 (2010)
ПРФ-180, ПРФ-750
ПРФ-750
ПС-30 (2004)
ПС-45 (2004)
ПС-60 (2004)
ПС-60А
ПСН-1 (2010)
ПСТ-12
ПСТ-6 (2006)
ПСТ-9 (2006)
ПСТБ-12 (2011)
ПСТБ-17 (2011)
ПСТБ-6 (2011)
ПТ-165М (2014)
РСК-12 «БелМикс» (2006)
РУ-1000 (2013)
РУ-1600 (2013)
РУ-3000 (2006)
РУ-3000 (2013)
РУ-7000 (2011)
ТВН (2011)
ТП-10 (2010)
Схема
>
Не выбрано
Измельчитель грубых кормов в рулонах ИРК-145
Измельчитель грубых кормов в рулонах ИРК-145
Измельчитель грубых кормов в рулонах ИРК-145
Контрпривод
Ролик опорный
Привод
Обечайка
Обечайка
Ролик
Вал
Муфта предохранительная
Гидроразводка
Ротор
Манипулятор
Тяга
Опора регулируемая
Перечень подшипников и манжет
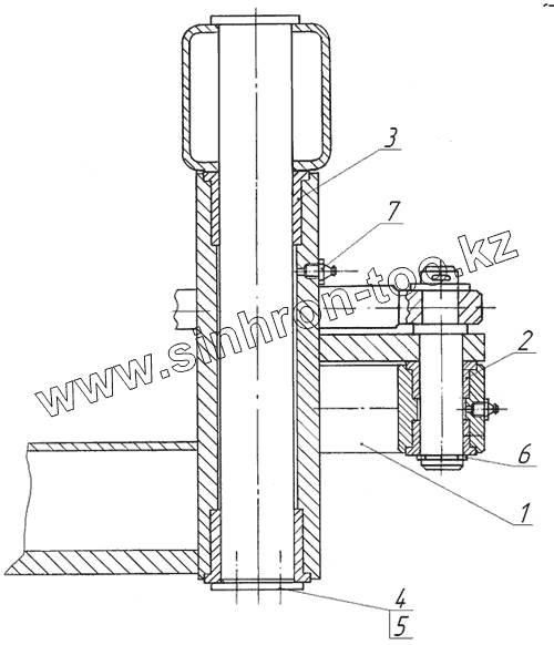
1
2
3
4
5
6
7
Позиция на иллюстрации
Заводской номер детали
Название детали
1
ИРК-145.12.04.000
Тяга
2
ИРК-145.12.00.101
Втулка
3
ИРК-145.12.00.101-01
Втулка
4
ИРК-145.12.00.401
Пластина стопорная
5
ИРК-145.12.00.601
Шайба концевая
6
ПР11.00.401
Кольцо
7
1.2 Ц6
Маслёнка ГОСТ 19853-74
Содержащиеся в справочниках-каталогах запасные части и детали не предлагаются к продаже, а носят исключительно информационный характер
Дополнительная информация
×
Название:
Номер:
Примечание: