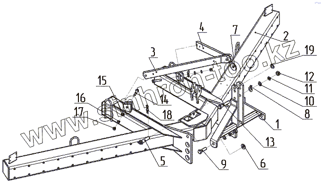
Каталог запасных частей к технике: БЭМЗ Глубокорыхлитель ГР-70. Рама прицепная
1
2
3
4
5
6
7
8
9
10
11
12
13
14
15
16
17
18
19
| Позиция на иллюстрации | Заводской номер детали | Название детали | |
|---|---|---|---|
| 1 | ОТИБ.301228.020 | Рама | |
| 2 | ОТИБ.301228.022 | Рама | |
| 3 | ОТИБ.745252.002-01 | Держатель | |
| 4 | ОТИБ.745252.002 | Держатель | |
| 5 | ОТИБ.301623.011 | Палец | |
| 6 | ОТИБ.758491.081 | Шайба | |
| 7 | ОТИБ.758491.078 | Шайба | |
| 8 | ОТИБ.758472.002 | Шайба | |
| 9 | М27-6gх90.88.35Х.019 | Болт М27-6gх90.88.35Х.019 | |
| 10 | А27.01.08кп.019 | Шайба А27.01.08кп.019 | |
| 11 | 27.65Г.019 | Шайба 27.65Г.019 | |
| 12 | М27-6Н.9.20.019 | Гайка М27-6Н.9.20.019 | |
| 13 | М27-6gх140.88.35Х.019 | Болт М27-6gх140.88.35Х.019 | |
| 14 | М20-6gх90.88.35Х.019 | Болт М20-6gх90.88.35Х.019 | |
| 15 | А20.01.08кп.019 | Шайба А20.01.08кп.019 | |
| 16 | 20.65Г.019 | Шайба 20.65Г.019 | |
| 17 | М20-6Н.12.40Х.019 | Гайка М20-6Н.12.40Х.019 | |
| 18 | DIN 11024 d=5 | Шплинт пружинный DIN 11024 d=5 | |
| 19 | А30.01.08кп.019 | Шайба А30.01.08кп.019 |
Содержащиеся в справочниках-каталогах запасные части и детали не предлагаются к продаже, а носят исключительно информационный характер