Вернуться на главную
Поиск
Каталоги запчастей к технике
Сельхозтехника
AGCO
Fendt-936 часть2
Передний подъемник-устройство прицепное
Каталог запасных частей к технике: AGCO Fendt-936 часть2. Передний подъемник-устройство прицепное
zoom-in
zoom-out
enlarge
shrink
circle-right
circle-left
file-text2
info
cart
Тип техники
Не выбрано
Легковые автомобили
Грузовые автомобили и прицепы
Автобусы
Сельхозтехника
Спецтехника
Двигатели
Мототехника
Марка
Не выбрано
AGCO
Amity
CASE IH
DongFeng
Fortschritt
Foton
Franz Kleine
Gaspardo
Great Plains
KRONE
KUHN
Lemken
Lovol
MacDon
Massey Ferguson
New Holland
TIGARBO
Vaderstad
Versatile
Wirax
Агро
Агротехмаш
Бобруйскагромаш (ОАО «УКХ «Бобруйскагромаш»)
БЭМЗ
ВгТЗ
Воронежсельмаш
ВТЗ
Гомсельмаш
ДКЗ
ЗАО "Техника-сервис"
ЗиД
КЗК
Кировец-Ландтехник
Клевер
Красная Звезда
Лидагропроммаш
Лидсельмаш
ЛТЗ
Машстройхолдинг
Минитракторы
Мордовагромаш
МТЗ
Навигатор-Новое машиностроение
Нефтекамский автозавод
ПТЗ
Ремком
РСМ
Сибсельмаш
ТеКЗ
ТКЗ
ХЗТСШ
ХТЗ
ЮМЗ
Модель
Не выбрано
Allis AA6.190 (2012)
Fendt-5220 часть1 (2008)
Fendt-5220 часть2 (2008)
Fendt-524 (Xylon) часть1 (2012)
Fendt-524 (Xylon) часть2 (2012)
Fendt-524 (Xylon) часть3 (2012)
Fendt-6300C часть1 (2008)
Fendt-6300C часть2 (2008)
Fendt-6300C часть3 (2008)
Fendt-936 часть1 (2012)
Fendt-936 часть2 (2012)
Fendt-936 часть3 (2012)
Схема
>
Не выбрано
Передний мост-корпус
Передний мост-корпус
Передний мост-контроль уровня масла
Передний мост-планет. редутор
Передний мост-корпус шарнира
Передний мост-вал карданный
Передний мост-вал карданный
Передний мост-вал карданный
Передний мост-вал карданный
Передний мост-система смазки КПП
Передний мост-система смазки КПП
Передний мост-поперечный рычаг подвески
Передний мост-поперечный рычаг подвески
Передний мост-поперечный рычаг подвески
Передний мост-датчик
Передний мост-штанга маркера
Передний мост-цил. рулевого механизма
Передний мост-цил. рулевого механизма
Передний мост-цил. рулевого механизма
Передний мост-шайба упорная
Передний мост-дифференциал
Передний мост-комплект тарельчатых дисков
Передний мост-главная передача
Передний мост-главная передача
Передний мост-вал приводной
Передний мост-труба цилиндра рулевого управления
Передний мост-трубки подвески моста
Передний мост-трубки подвески моста
Передний мост-трубки подвески моста
Передний мост-трубки подвески моста
Передний мост-амортизац. цилиндр
Передний мост-распределитель
Передний мост-распределитель
Передний мост-распределитель
Передний мост-панель передняя
Передний мост-противовес передний
Передний мост-противовес передний
Передний мост-кронштейн противовеса
Передний мост-кронштейн противовеса
Передний мост-дуга защитная
Передний мост-груз
Передний мост-груз
Передний мост-груз
Передний мост-груз
Передний мост-груз
Передний мост-груз
Передний мост-груз
Рулевой механизм-руль
Рулевой механизм-колонка рулевая
Рулевой механизм-колонка рулевая
Рулевой механизм-колонка рулевая
Рулевой механизм-опора
Рулевой механизм-опора
Рулевой механизм-опора
Рулевой механизм-опора
Рулевой механизм-рулевое управление
Рулевой механизм-блок клапанов
Кузов-остов
Кузов-остов
Кузов-остов
Кузов-остов
Кузов-консоль сиденья
Кузов-консоль сиденья
Кузов-стойка шарнирная
Кузов-капот трактора
Кузов-капот трактора
Кузов-обшивка капота
Кузов-шарнир капота
Кузов-шарнир капота
Кузов-козырек боковины
Кузов-козырек боковины
Кузов-козырек боковины
Кузов-подлокотни
Кузов-сиденье водителя
Кузов-сиденье водителя
Кузов-сиденье водителя
Кузов-компрессор
Кузов-часть пружины нижняя
Кузов-часть пружины нижняя
Кузов-часть пружины нижняя
Кузов-сервисный пакет
Кузов-ремень безопасности
Кузов-сиденье водителя
Кузов-сиденье водителя
Кузов-сиденье водителя
Кузов-сиденье водителя
Кузов-часть пружины нижняя
Кузов-часть пружины нижняя
Кузов-часть пружины нижняя
Кузов-сиденье водителя
Кузов-сиденье водителя
Кузов-сиденье водителя
Кузов-сиденье водителя
Кузов-сиденье водителя
Кузов-сиденье водителя
Кузов-часть пружины нижняя
Кузов-часть пружины нижняя
Кузов-часть пружины нижняя
Кузов-сиденье водителя
Кузов-сиденье пассажира
Кузов-ящик с инструментом
Кузов-ящик с инструментом
Кузов-инструмент
Кузов-устройство прицепное
Кузов-ограждение ВОМ
Кузов-ограждение ВОМ
Кузов-устройство прицепное
Кузов-устройство прицепное
Кузов-устройство прицепное
Кузов-устройство прицепное
Кузов-дистанционное управление
Кузов-переключатель сиденья
Кузов-прицепное устройство маятниковое
Кузов-питон фикс
Кузов-переключатель сиденья
Кузов-прицепное устройство маятниковое
Кузов-приемник
Кузов-приемник
Кузов-питон фикс
Кузов-питон фикс
Кузов-подвеска нижняя
Кузов-переключатель сиденья
Кузов-переключатель сиденья
Кузов
Кузов
Кузов-подвеска нижняя
Кузов-подвеска нижняя
Кузов-подвеска нижняя
Кузов-ступеньки
Кузов-ступеньки
Кузов-ступеньки
Кузов-ступеньки
Кузов-ступеньки
Кузов-ступеньки
Кузов-ступеньки
Кузов-подвеска рамы
Кузов-подвеска рамы
Кузов-подвеска рамы
Кузов-подвеска рамы
Кузов-указатели
Кузов-указатели
Кузов-предупред. шильд
Кузов-остов
Кузов-остов
Кузов-нижняя обшивка
Кузов-нижняя обшивка
Кондиционер-компрессор
Кондиционер-патрубки системы охлаждения
Кондиционер-конденсатор
Кондиционер-конденсатор
Кондиционер-испаритель
Кондиционер-испаритель
Колеса-передние колеса
Колеса-передние колеса
Колеса-передние колеса
Колеса-задние колеса
Колеса-задние колеса
Колеса-задние колеса
Колеса-перед. перест. колеса
Колеса-задн.перест. колеса
Колеса-ступица колеса
Колеса-ступица колеса
Колеса-передние крылья
Колеса-передние крылья
Колеса-крыло заднее
Колеса-крыло заднее
Колеса-вставка крыла
Колеса-вставка крыла
Колеса-вставка крыла
Колеса-вставка крыла
Колеса-вставка крыла
Задняя подвеска-подъемник
Задняя подвеска-подъемник
Задняя подвеска-гидроцилиндр
Задняя подвеска-бак
Задняя подвеска-палец измерительный
Задняя подвеска-палец измерительный
Задняя подвеска-датчик
Задняя подвеска-внешнее управление подвеской
Трехточечная подвеска-раскос подъема
Трехточечная подвеска-раскос подъема
Трехточечная подвеска-раскос подъема
Трехточечная подвеска-опора
Трехточечная подвеска-опора
Трехточечная подвеска-тяга верхняя
Трехточечная подвеска-гидравлический верхний рычаг
Трехточечная подвеска-гидравлический верхний рычаг
Трехточечная подвеска-гидравлический верхний рычаг
Трехточечная подвеска-гидравлический верхний рычаг
Трехточечная подвеска-гидравлический верхний рычаг
Трехточечная подвеска-кронштейн
Трехточечная подвеска-рычаг нижний
Трехточечная подвеска-рычаг нижний
Трехточечная подвеска-кронштейн шаровый
Передний подъемник-подъемник фронтальный
Передний подъемник-цилиндр
Передний подъемник-цилиндр
Передний подъемник-трубопровод
Передний подъемник-трубопровод
Передний подъемник-трубопровод
Передний подъемник-трубопровод
Передний подъемник-блок клапанов
Передний подъемник-рычаг нижний
Передний подъемник-тяга верхняя
Передний подъемник-клапан
Передний подъемник-клапан регулятора
Передний подъемник-датчик
Передний подъемник-груз
Передний подъемник-груз дополнительный
Передний подъемник-балка
Передний подъемник-устройство прицепное
Передний подъемник-груз
Передний подъемник-груз
Передний подъемник-груз
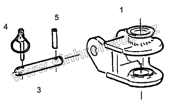
1
3
4
5
Позиция на иллюстрации
Заводской номер детали
Название детали
1
Н278.501.050.013
устройство прицепное
3
180.870.050.010
палец
4
Х537.607.600.000
штекер откидной
5
Х500.628.946.000
SP-стержень
Содержащиеся в справочниках-каталогах запасные части и детали не предлагаются к продаже, а носят исключительно информационный характер
Дополнительная информация
×
Название:
Номер:
Примечание: