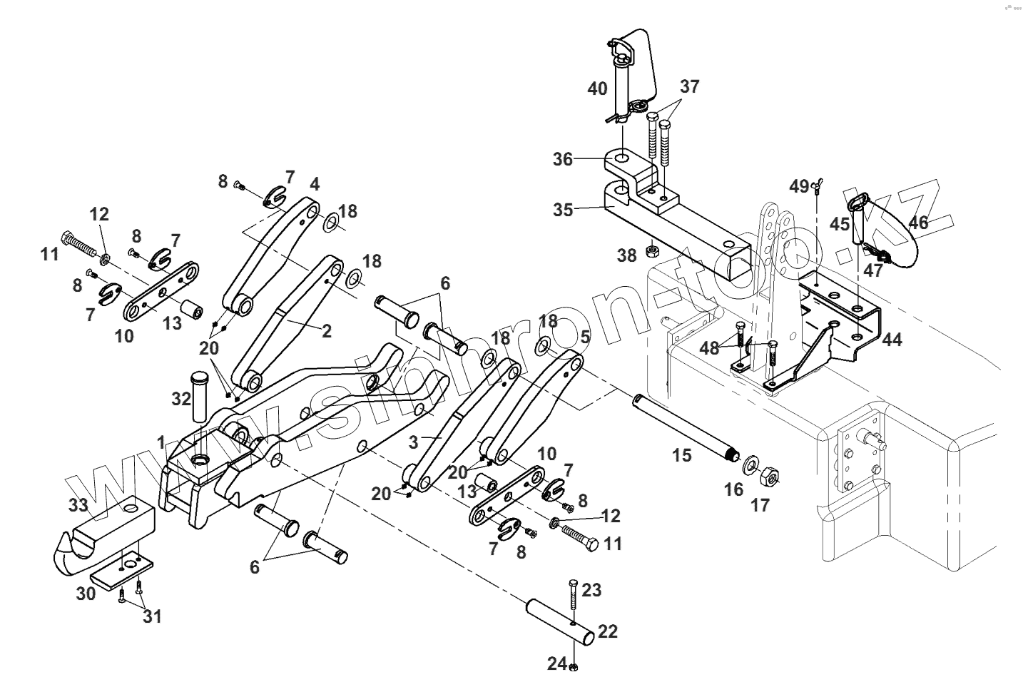
Каталог запасных частей к технике: AGCO Fendt-936 часть2. Кузов-подвеска нижняя
1
2
3
4
5
6
6
7
7
7
7
7
8
8
8
8
8
10
10
11
11
12
12
13
13
15
16
17
18
18
18
18
20
20
20
22
23
24
30
31
32
33
35
36
37
38
40
44
45
46
47
48
49
| Позиция на иллюстрации | Заводской номер детали | Название детали | |
|---|---|---|---|
| 1 | F931.502.160.020 | рама | |
| 2 | F930.500.160.400 | рычаг подъемный | |
| 3 | F930.500.160.070 | рычаг подъемный | |
| 4 | F930.500.160.040 | рычаг подъемный | |
| 5 | F930.500.160.380 | рычаг подъемный | |
| 6 | F931.502.160.060 | палец | |
| 7 | F931.502.160.030 | кронштейн | |
| 8 | F716.501.160.230 | шуруп | |
| 10 | F931.502.160.050 | элемент упорный | |
| 11 | F931.502.160.120 | винт шестигранный | |
| 12 | F931.502.160.130 | шайба | |
| 13 | F931.502.160.170 | втулка | |
| 15 | F931.502.160.110 | вал | |
| 16 | Х450.012.676.000 | шайба | |
| 17 | F930.500.160.360 | гайка | |
| 18 | F930.500.160.150 | шайба | |
| 20 | Х662.516.002.000 | нипель для смазки | |
| 22 | F931.502.160.090 | палец | |
| 23 | Х487.532.541.000 | винт шестигранный | |
| 24 | Х428.202.839.000 | гайка | |
| 30 | F931.502.160.210 | вставка | |
| 31 | F931.502.160.220 | винт | |
| 32 | F931.502.160.080 | палец | |
| 33 | F931.502.160.070 | крюк тяговый | |
| 35 | F931.502.160.180 | штанга | |
| 36 | F931.502.160.190 | опора | |
| 37 | F931.502.160.200 | винт шестигранный | |
| 38 | Х428.804.404.000 | гайка | |
| 40 | F931.502.160.240 | палец | |
| 44 | 931.502.160.050 | кронштейн | |
| 45 | Н178.300.904.100 | палец вставной | |
| 46 | Н716.921.050.030 | трос | |
| 47 | 112.851.010.080 | штекер упругий | |
| 48 | Х487.546.141.000 | винт шестигранный | |
| 49 | Х472.027.701.000 | болт барашковый |
Содержащиеся в справочниках-каталогах запасные части и детали не предлагаются к продаже, а носят исключительно информационный характер