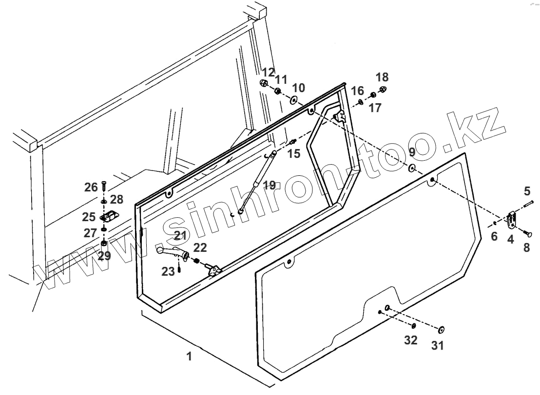
Каталог запасных частей к технике: AGCO Fendt-524 (Xylon) часть2. REAR WINDOW PANE
1
1
4
5
6
8
9
10
11
12
15
16
17
18
19
21
22
23
25
26
27
28
29
31
32
| Позиция на иллюстрации | Заводской номер детали | Название детали | |
|---|---|---|---|
| 1 | L524810410000 | REAR WINDOW PANE | |
| 1 | Н524810050010 | REAR WINDOW PANE | |
| 4 | 205812040521 | HINGE | |
| 5 | 205812040010 | HINGE PIN | |
| 6 | Х523303446000 | LOCKING WASHER | |
| 8 | Х477831901000 | FLAT HEAD SCREW | |
| 9 | 524810050300 | RUBBER WASHER | |
| 10 | Х454407508000 | DISC | |
| 11 | Х434102840000 | HEXAGON NUT | |
| 12 | Х499719100000 | HEXAG.PROTECTIVE CAP | |
| 15 | Х504827000000 | BALL END PIN | |
| 16 | Х521403947000 | SPRING WASHER | |
| 17 | Х434102440000 | HEXAGON NUT | |
| 18 | Х499718800000 | HEXAG.PROTECTIVE CAP | |
| 19 | Н524810050070 | GAS FILLED DAMPER | |
| 21 | G210812040080 | WINDOW HANDLE | |
| 22 | 291500210720 | PRESSURE SPRING | |
| 23 | Х413420801000 | THREADED PIN | |
| 25 | 222812050510 | CATCH | |
| 26 | Х495921901000 | FILL HEAD SCREW | |
| 27 | Х522803247000 | WASHER | |
| 28 | Х521403047000 | SPRING WASHER | |
| 29 | Х434102240000 | HEXAGON NUT | |
| 31 | А205812051040 | CLOSING COVER | |
| 32 | А205812051040 | CLOSING COVER |
Содержащиеся в справочниках-каталогах запасные части и детали не предлагаются к продаже, а носят исключительно информационный характер