Вернуться на главную
Поиск
Каталоги запчастей к технике
Сельхозтехника
AGCO
Fendt-524 (Xylon) часть2
COVER
Каталог запасных частей к технике: AGCO Fendt-524 (Xylon) часть2. COVER
zoom-in
zoom-out
enlarge
shrink
circle-right
circle-left
file-text2
info
cart
Тип техники
Не выбрано
Легковые автомобили
Грузовые автомобили и прицепы
Автобусы
Сельхозтехника
Спецтехника
Двигатели
Мототехника
Марка
Не выбрано
AGCO
Amity
CASE IH
DongFeng
Fortschritt
Foton
Franz Kleine
Gaspardo
Great Plains
KRONE
KUHN
Lemken
Lovol
MacDon
Massey Ferguson
New Holland
TIGARBO
Vaderstad
Versatile
Wirax
Агро
Агротехмаш
Бобруйскагромаш (ОАО «УКХ «Бобруйскагромаш»)
БЭМЗ
ВгТЗ
Воронежсельмаш
ВТЗ
Гомсельмаш
ДКЗ
ЗАО "Техника-сервис"
ЗиД
КЗК
Кировец-Ландтехник
Клевер
Красная Звезда
Лидагропроммаш
Лидсельмаш
ЛТЗ
Машстройхолдинг
Минитракторы
Мордовагромаш
МТЗ
Навигатор-Новое машиностроение
Нефтекамский автозавод
ПТЗ
Ремком
РСМ
Сибсельмаш
ТеКЗ
ТКЗ
ХЗТСШ
ХТЗ
ЮМЗ
Модель
Не выбрано
Allis AA6.190 (2012)
Fendt-5220 часть1 (2008)
Fendt-5220 часть2 (2008)
Fendt-524 (Xylon) часть1 (2012)
Fendt-524 (Xylon) часть2 (2012)
Fendt-524 (Xylon) часть3 (2012)
Fendt-6300C часть1 (2008)
Fendt-6300C часть2 (2008)
Fendt-6300C часть3 (2008)
Fendt-936 часть1 (2012)
Fendt-936 часть2 (2012)
Fendt-936 часть3 (2012)
Схема
>
Не выбрано
CABIN FRAME
COLUMN PANELLING
ROOF
FRONTAL SHEET
ROOF HATCH
COATING
DOORS
DOOR LOCK
WINDSCREEN
REAR WINDOW PANE
FLAP
FLOOR COVERING
INSULATION
COATING
DRIVERS-CABIN OUTFIT
OUTFIT BOX
HEATING FLAP
HEATING
TUBES HEATING
TUBES HEATING
TUBES HEATING
HEATING DEVICE
EXHAUST PIPING
FUEL LINE
AERATION
AERATION
AERATION
REAR VIEW MIRROR
REAR VIEW MIRROR
SUN VISOR
WINDSHIELD WIPER
WINDSHIELD WIPER
WINDSHIELD WIPER
WINDSCREEN WASH-INST
WINDSCREEN WASH-INST
INTERIOR LIGHTING
RADIO INSTALL. KIT
DISPLAY
TRANSMITTER
RADAR SENSOR
COMFORT SYSTEM
TECNICAL DOCUMENTS
STEERING WHEEL
STEERING UNIT
STEERING COLUMN
PRIORITY VALVE
CONTROL LEVER
BODY
BODY-PANELLING
BODY-PANELLING
DRIVER SEAT
DRIVER SEAT
DRIVER SEAT
DRIVER SEAT
DRIVER SEAT
DRIVER SEAT
DRIVER SEAT
DRIVER SEAT
DRIVER SEAT
DRIVER SEAT
DRIVER SEAT
DRIVER SEAT
DRIVER SEAT
DRIVER SEAT
SPRING ASSY
SPRING ASSY
SPRING ASSY
SPRING ASSY
SPRING ASSY
COMPRESSOR
COMPRESSOR
COMPRESSOR
COMPRESSOR
SEAT SPRING ASSY
SEAT SPRING ASSY
SEAT SPRING ASSY
SEAT SPRING ASSY
BELLOWS
BELLOWS
DRIVER SEAT
DRIVER SEAT
DRIVER SEAT
DRIVER SEAT
DRIVER SEAT
SPRING ASSY
SPRING ASSY
COMPRESSOR
SEAT SPRING ASSY
SEAT SPRING ASSY
BELLOWS
PASSENGER SEAT
PASSENGER SEAT
PASSENGER SEAT
PASSENGER SEAT
SPRING ASSY
SPRING ASSY
SPRING ASSY
COMPRESSOR
COMPRESSOR
SEAT SPRING ASSY
SEAT SPRING ASSY
BELLOWS
PASSENGER SEAT
PASSENGER SEAT
PASSENGER SEAT
CONSOLE
SECURITY BELT
SECURITY BELT
TOOLBOX
TOOLBOX
TOOLBOX
TOOLS
HITCH
TRAILER HITCH
TRAILER HITCH
TRAILER HITCH
TRAILER HITCH
TRAILER HITCH
TRAILER HITCH
TRAILER HITCH
REMOTE CONTROL
ADJUSTABLE DRAWBAR
PITON FIX
BASE FRAME
DRAWBAR
BASE
BASE
PLATFORM
PLATFORM
BASE FOR FRAME
BASE FOR FRAME
BASE FOR FRAME
TIPPING ASSY
TIPPING ASSY
ENTRY LEFT
ENTRY LEFT
ENTRY LEFT
ENTRY LEFT
ENTRY LEFT
ENTRY LEFT
ENTRY LEFT
ENTRY LEFT
ENTRY LEFT
ENTRY RIGHT
ENTRY RIGHT
ENTRY RIGHT
ENTRY RIGHT
ENTRY RIGHT
ENTRY RIGHT
SILENCING BOX
SILENCING BOX
SILENCING BOX
SILENCING BOX
SILENCING BOX
LABELING
LABELING
COMPRESSOR INSTALL.
COMPRESSOR
TUBES F.REFRIG.FLUID
TUBES F.REFRIG.FLUID
PANELLING
EVAPORATOR
CONDENSER
ELECTRIC WIRING
FRONT WHEELS
REAR WHEELS
ROW CROP WHEELS
MUD GUARDS ADJUSTAB.
MUD GUARDS FIX
MUD GUARDS ADJUSTAB.
MUD GUARDS ADJUSTAB.
MUD GUARDS ADJUSTAB.
MUD GUARDS ADJUSTAB.
MUD GUARDS ADJUSTAB.
MUD GUARDS FIX
MUD GUARDS FIX
MUD GUARDS FIX
MUD GUARDS FIX
MUD GUARDS FIX
MUDGUARD REAR
MUDGUARD REAR
MUDGUARD ENLARGEMENT
MUDGUARD ENLARGEMENT
MUDGUARD ENLARGEMENT
COVER
TRACK ADJUSTMENT
INTERMEDIATE PIECES
INTERMEDIATE PIECES
INTERMEDIATE PIECES
WHEEL WEDGE MOUNTING
BRAKE LEVER SUPPORT
IMPLEMENT FRAME
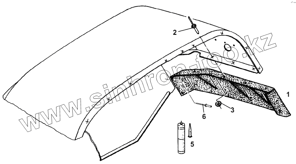
1
1
2
3
5
6
Позиция на иллюстрации
Заводской номер детали
Название детали
1
312700060010
COVER
1
312700060020
COVER
2
Х444915500000
BLANK RIVET
3
Х454303908000
DISC
5
Х903055270000
SEALING COMPOUND
6
Х444915500000
BLANK RIVET
Содержащиеся в справочниках-каталогах запасные части и детали не предлагаются к продаже, а носят исключительно информационный характер
Дополнительная информация
×
Название:
Номер:
Примечание: