Каталог запасных частей к технике: AGCO Fendt-524 (Xylon) часть2. AERATION
1
2
4
5
6
7
8
9
9
9
9
9
9
10
10
10
10
10
11
13
14
15
15
17
18
19
20
21
21
23
23
24
25
26
27
27
28
28
29
29
31
33
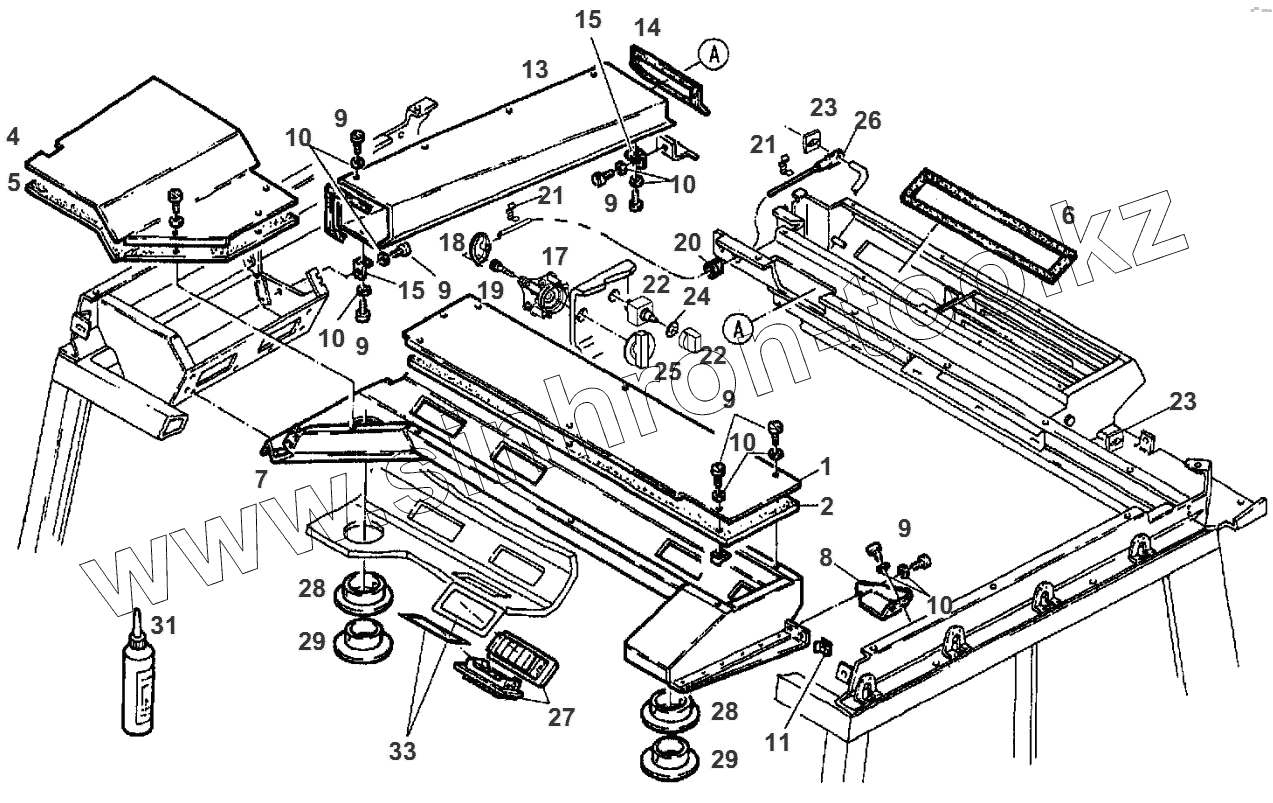
| Позиция на иллюстрации | Заводской номер детали | Название детали | |
|---|---|---|---|
| 1 | 524810140020 | COVER | |
| 2 | 524810140070 | INSULATING PLATE | |
| 4 | 524810140090 | COVER | |
| 5 | 524810140180 | INSULATING PLATE | |
| 6 | Х903005285995 | SEALING RIBBON | |
| 7 | Н524810140020 | AIR DISTRIBUTOR | |
| 8 | 524810140030 | ANGLE | |
| 9 | Х495112100000 | SELF-TAPPING SCREW | |
| 10 | Х454303908000 | DISC | |
| 11 | Х435722500000 | SHEET METAL NUT | |
| 13 | 524810140061 | COVER SHEET | |
| 14 | Х903005289995 | SEALING RIBBON | |
| 15 | 816810020060 | RETAINING ANGLE | |
| 17 | G524810140011 | ACTUATOR | |
| 18 | 312810130452 | QUADRANT | |
| 19 | 312810130463 | SHAFT | |
| 20 | 816810270010 | GROMMET | |
| 21 | Х699465000000 | PROFILE SPRING | |
| 23 | Х536603645000 | DOUBLE-CLIP | |
| 24 | Х536707300000 | SPRING NUT | |
| 25 | 312810130240 | CONTROL KNOB | |
| 26 | Н524810140100 | CABLE | |
| 27 | G816810140080 | SQUARE NOZZLE | |
| 27 | G816810140080 | SQUARE NOZZLE | |
| 28 | 816810130020 | AIR JET MOUNT | |
| 29 | G816810130080 | AIR JET | |
| 31 | Х903053634000 | SEALING COMPOUND | |
| 33 | 524810140500 | COVER |
Содержащиеся в справочниках-каталогах запасные части и детали не предлагаются к продаже, а носят исключительно информационный характер