Вернуться на главную
Поиск
Каталоги запчастей к технике
Сельхозтехника
AGCO
Fendt-5220 часть1
Straw Walkers Case
Каталог запасных частей к технике: AGCO Fendt-5220 часть1. Straw Walkers Case
zoom-in
zoom-out
enlarge
shrink
circle-right
circle-left
file-text2
info
cart
Тип техники
Не выбрано
Легковые автомобили
Грузовые автомобили и прицепы
Автобусы
Сельхозтехника
Спецтехника
Двигатели
Мототехника
Марка
Не выбрано
AGCO
Amity
CASE IH
DongFeng
Fortschritt
Foton
Franz Kleine
Gaspardo
Great Plains
KRONE
KUHN
Lemken
Lovol
MacDon
Massey Ferguson
New Holland
TIGARBO
Vaderstad
Versatile
Wirax
Агро
Агротехмаш
Бобруйскагромаш (ОАО «УКХ «Бобруйскагромаш»)
БЭМЗ
ВгТЗ
Воронежсельмаш
ВТЗ
Гомсельмаш
ДКЗ
ЗАО "Техника-сервис"
ЗиД
КЗК
Кировец-Ландтехник
Клевер
Красная Звезда
Лидагропроммаш
Лидсельмаш
ЛТЗ
Машстройхолдинг
Минитракторы
Мордовагромаш
МТЗ
Навигатор-Новое машиностроение
Нефтекамский автозавод
ПТЗ
Ремком
РСМ
Сибсельмаш
ТеКЗ
ТКЗ
ХЗТСШ
ХТЗ
ЮМЗ
Модель
Не выбрано
Allis AA6.190 (2012)
Fendt-5220 часть1 (2008)
Fendt-5220 часть2 (2008)
Fendt-524 (Xylon) часть1 (2012)
Fendt-524 (Xylon) часть2 (2012)
Fendt-524 (Xylon) часть3 (2012)
Fendt-6300C часть1 (2008)
Fendt-6300C часть2 (2008)
Fendt-6300C часть3 (2008)
Fendt-936 часть1 (2012)
Fendt-936 часть2 (2012)
Fendt-936 часть3 (2012)
Схема
>
Не выбрано
Engine
Cache Culbuteurs
Intake Manifold
Collecteur D'Echappement
Nozzles
Injection Pump Assy
Fuel Filter - Up To 551510030
Fuel Filter - From Serial Number 551510031
Accumulator Hydraulic - Up To 551510030
Accumulator Hydraulic - From Serial Number 551510031
Fuel Filter - Up To 551510030
Fuel Filter - From Serial Number 551510031
Fuel Lines
Fuel Lines
Fuel Lines
Lube Oil Lines
Turbocharger - Up To 551510030
Turbocharger - From Serial Number 551510031
Oil Dipstick
Oil Filters
Water Pump
Thermostat
Engine Breathers
Starter Motor
Alternator
Cables
Cables - From Serial Number 551510031
V-Belt
Electronic Control Unit
Engine Installation - Up To 551510030
Engine Installation - From Serial Number 551510031
Engine Installation
Engine Installation - Holder
Engine Installation
Engine Installation - Fan
Engine Installation
Engine Air Cleaner
Exhaust Silencer
Fuel Tank - Up To 551510030
Fuel Tank - From Serial Number 551510031
Fuel Tank - Holder
Radiator Filter
Radiator Filter
Radiator Filter
Radiator Filter
Radiator Filter - Up To 551510026
Radiator Filter - From Serial Number 551510031
Radiator Filter
Radiator Filter
Radiator Filter
Radiator Filter
Radiator Filter
Radiator Elements
Filter Transmission Radiator
Power Take-Off
Power Take-Off
Radiator Filter Intake
Front Axle
Front Axle
Rear Axle - 4 Wd - Hydraulic Lines
Rear Axle - 4 Wd
Rear Axle - 4 Wd - Final Drive
Rear Axle - 4 Wd - Valve
Rear Axle - 4 Wd - Hydraulic Cylinder
Rear Axle Support
Rear Axle - Adjustable
Rear Axle - Adjustable
Rear Axle - Adjustable
Reducers
Shift Levers
Shift Levers
Brakes
Brakes
Pump Elements And Brake Compensation Valve
Brakes Elements
Parking Brake
Parking Brake Elements
Front Axle
Tow Hook
Tow Hook
Chassis Crawler Tracks - 6 Rollers
Chassis Crawler Tracks - 6 Rollers
Chassis Crawler Tracks - 6 Rollers
Chassis Crawler Tracks - 6 Rollers
Chassis Crawler Tracks - 6 Rollers
Chassis Crawler Tracks - 6 Rollers - Up To 551510026
Chassis Crawler Tracks - 6 Rollers - From Serial Number 551510027
Rollers Elements And Idler Wheels
Chain Elements
Chassis Crawler Tracks - 7 Rollers
Chassis Crawler Tracks - 7 Rollers
Chassis Crawler Tracks - 7 Rollers
Chassis Crawler Tracks - 7 Rollers
Chassis Crawler Tracks - 7 Rollers
Chassis Crawler Tracks - 7 Rollers - Up To 551510026
Chassis Crawler Tracks - 7 Rollers - From Serial Number 5515100272
Hydrostatic Pump
Hydrostatic Pump
Hydrostatic Pump Elements
Pump Drive
Pump Drive
Gear Box
Gear Box
Gear Box
Gear Box
Hydrostatic Motor
Hydrostatic Motor Elements
Oil Tank
Oil Tank - Up To 551510030
Oil Tank - From Serial Number 551510031
Valve Chest - From Serial Number 551510031
Multifunction Lever For Hydrostatic Transmission
Multifunction Lever For Hydrostatic Transmission
Multifunction Lever For Hydrostatic Transmission
Elevator Transmission
Front Elevator
Front Elevator - Control Pulley
Front Elevator - Upper Shaft
Front Elevator - Lower Roller
Front Elevator Standard - Transmission
Front Elevator Standard - Guard
Front Elevator - Lower Shaft
Front Elevator Standard
Front Elevator - Roller, Chain, Beater Bar
Front Elevator Integral - Overhang
Front Elevator
Cutter Bar Levelling System
Cutter Bar Lifting
Cutter Bar Lifting
Cutter Bar Lifting
Reverser
Reverser
Frame
Drum Housing
Drum Housing
Drum Housing
Drum Variator - Up To 551510030
Drum Variator - From Serial Number 551510031
Drum With Bars
Peg Drum
Beater Behind Drum
Concave Control Drive
Concave Control Drive
Concave
Spike Tooth Concave - Rice
Spike Tooth Concave - Rice
Concave, Corn, Mixed Crop
Concave For Maize And Sun Flower - From Serial Number 551510027
Concave, Corn, Mixed Crop
Conveying Concave
Conveying Concave
Thresing Mechanism Drive
Without Multi Crop Separator
Straw Walkers Case
Straw Walkers Case
Rear Body
Rear Body
Straw Walker
Parts For Normals Soils
Parts For Normals Soils
Straw Walker Drive
Straw Walker Drive
Swather Rake
Straw Chopper - Transmission
Straw Chopper - Transmission
Straw Chopper - Transmission
Straw Chopper - Drive Clutch
Straw Chopper - Drive Guard
Straw Chopper - Supports
Straw Chopper - Supports
Straw Chopper - Body Stiffener
Straw Chopper - Electric System
Straw Chopper - Supports
Straw Chopper - Chassis
Straw Chopper - Chassis
Straw Chopper - Chopper Drum
Straw Chopper - Spreader Housing
Straw Chopper - Deflectors
Straw Chopper - Deflectors
Straw Chopper - Straw Chopper Exclusion Device
Grain Pan
Grain Pan Drive
Grain Pan Drive
Shaker Shoe
Shaker Shoe - Belt Tensioner
Shaker Shoe
Lower Shaker Shoe
Lower Shaker Shoe
Upper Shaker Shoe
Grain Elevator - Normal
Grain Elevator - Normal
Grain Elevator - Normal
Grain Elevator - Normal
Tailings Elevator - Normal
Tailings Elevator - Normal
Tailings Elevator - Normal
Tailings Elevator - Normal
Tailings Elevator - Normal
Fan - Up To 551510026
Fan - From Serial Number 551510027
Fan
Fan
Fan Variator
Fan Variator Elements
Grain Elevator Anthwear Chassis
Grain Elevator Anthwear
Grain Elevator Anthwear Chain
Grain Elevator Anthwear Upper Transmission
Tailings Elevator Anthwear Chassis
Tailings Elevator Anthwear
Tailings Elevator Anthwear Chain
Tailings Elevator Anthwear
Tailings Elevator Anthwear Auger
Fan Speed Variator Electric Digital Control
Upper Sieve, Adjustable
Lower Sieve
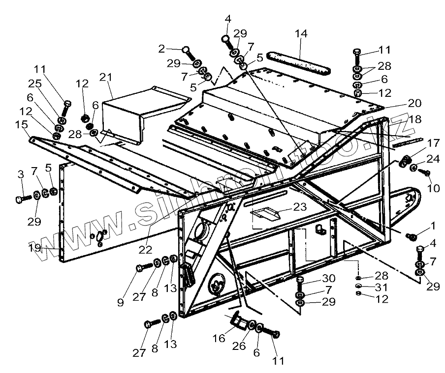
1
2
3
4
4
5
5
5
6
6
6
6
7
7
7
7
7
8
8
9
10
11
11
11
12
12
12
12
13
13
14
15
16
17
18
19
20
21
22
23
24
25
26
27
27
28
28
28
29
29
29
29
29
30
31
Позиция на иллюстрации
Заводской номер детали
Название детали
1
LA5115197
PLUG
2
LA11106221
SCREW
3
LA11106224
SCREW
4
LA11106424
SCREW
5
LA11701721
NUT
6
LA12034571
LOCK WASHER
7
LA12034671
WASHER
8
LA12034771
WASHER
9
LA15540424
CAPSCREW
10
LA15688301
SCREW
11
LA16043424
CAPSCREW
12
LA16100811
NUT
13
LA16101514
NUT
14
LA300113868
MAT
15
LA321807950
ROOF
16
LA321810950
BRACKET
17
LA322393750
COLLAR
18
LA322911350
SIDE
19
LA322911450
SIDE
20
LA322963650
ROOF
21
LA322966950
PLATE
22
LA322980250
ROOF
23
LA322980350
CHANNEL
24
LA355500610
WASHER
25
LA355500915
WASHER
26
LA355500920
WASHER
27
LA355501330
WASHER
28
LA355510820
WASHER
29
LA355511030
WASHER
30
LA11106621
CAPSCREW
31
LA322358
WASHER
Содержащиеся в справочниках-каталогах запасные части и детали не предлагаются к продаже, а носят исключительно информационный характер
Дополнительная информация
×
Название:
Номер:
Примечание: