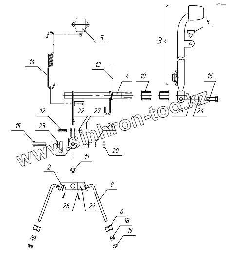
Каталог запасных частей к технике: ЗиД СТС ЗиД-200. Привод тормозов заднего колеса
1
2
3
3
4
4
5
6
8
9
10
11
12
13
14
15
16
18
19
20
22
22
23
23
24
24
26
27
| Позиция на иллюстрации | Заводской номер детали | Название детали | |
|---|---|---|---|
| 1 | 239001991101 | Кронштейн | |
| 2 | 239001991301 | Делитель | |
| 3 | 239001993201 | Рычаг ножного тормоза | |
| 3 | 239001993241 | Рычаг ножного тормоза | |
| 4 | 239001994041 | Ось тормозная | |
| 4 | 239001994061 | Ось тормозная | |
| 5 | 095001997701 | Выключатель ВК 854Б ТУ 37.003.1218-84 | |
| 6 | 095000900701 | Втулка тормозного рычага | |
| 8 | 164001902301 | Упор седла | |
| 9 | 239001902801 | Тяга тормозная | |
| 10 | 125001909201 | Втулка | |
| 11 | 239001912701 | Втулка | |
| 12 | 220001918361 | Втулка | |
| 13 | 218001928001 | Пружина | |
| 14 | 218001936201 | Пружина контактного выключателя | |
| 15 | 085820171601 | Болт М8х1-6gх30 | |
| 16 | 085820172801 | Болт М8х1-6gх25.019 ГОСТ 7796-70 | |
| 18 | 085000370301 | Гайка М6-6Н | |
| 19 | 085820370501 | Гайка М6-6Н.6.019 ГОСТ 5927-70 | |
| 20 | 085000370701 | Гайка М8х1-6Н | |
| 22 | 085820471101 | Шайба 6.01.019 ГОСТ 11371-78 | |
| 23 | 085820471501 | Шайба 8.01.019 ГОСТ 11371-78 | |
| 24 | 085820471601 | Шайба 8.65Г.019 ГОСТ 6402-70 | |
| 26 | 085820670101 | Шплинт 2х12.01.12 | |
| 27 | 085820670201 | Шплинт 1,6х10.0112 ГОСТ 397-79 |
Содержащиеся в справочниках-каталогах запасные части и детали не предлагаются к продаже, а носят исключительно информационный характер