Каталог запасных частей к технике: ЗиД Скутер LF-50QT-8A. Спидометр
1
2
2
2
2
3
4
5
6
6
7
8
9
10
10
10
11
11
12
13
14
14
14
15
15
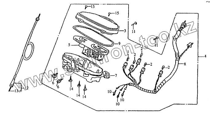
| Позиция на иллюстрации | Заводской номер детали | Название детали | |
|---|---|---|---|
| 1 | 30001 | Лампа цокольная | |
| 2 | 30002 | Лампа цокольная | |
| 3 | 30003 | Прозрачный колпак | |
| 4 | 30004 | Спидометр в сборе | |
| 5 | 30005 | Измеритель скорости и топлива | |
| 6 | GB9074.14-88 | Винт 4x8 | |
| 7 | 30006 | Корпус в сборе | |
| 8 | 30007 | Патроны ламп с проводом | |
| 9 | 30008 | Прокладка корпуса | |
| 10 | GB9074.1-88 | Винт - шайба 3x22 | |
| 11 | GB845-85 | Винт с резьбой 4.8x13 | |
| 12 | 30009 | Оболочка троса спидометра в комплекте | |
| 13 | 30010 | Вал гибкий внутренний | |
| 14 | GB845-85 | Винт с резьбой 4.8x13 | |
| 15 | GB845-85 | Винт с резьбой 4.8x13 |
Содержащиеся в справочниках-каталогах запасные части и детали не предлагаются к продаже, а носят исключительно информационный характер