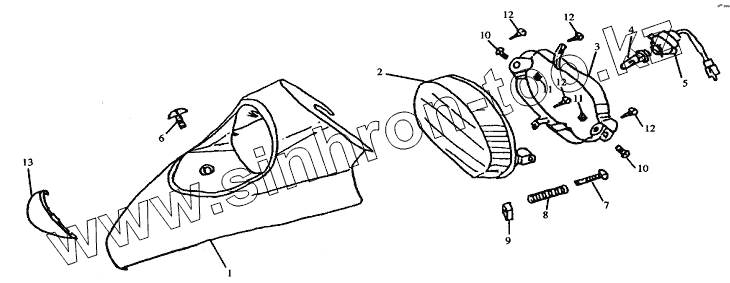
Каталог запасных частей к технике: ЗиД Скутер LF-50QT-8A. Фара на передней панели
1
2
3
4
5
6
7
8
9
10
10
11
11
12
12
12
12
13
| Позиция на иллюстрации | Заводской номер детали | Название детали | |
|---|---|---|---|
| 1 | 10001 | Передняя панель | |
| 2 | 10002 | Корпус фары | |
| 3 | 10003 | Рама крепления фары | |
| 4 | 10004 | Лампа фары | |
| 5 | 10005 | Провод фары | |
| 6 | 10006 | Болт 6x18 | |
| 7 | GB818-85 | Винт 5x45 | |
| 8 | 10007 | Пружина | |
| 9 | 10008 | Гайка 5 мм | |
| 10 | GB818-85 | Винт 5x45 | |
| 11 | 10009 | Гайка 6 мм | |
| 12 | GB845-85 | Винт с резьбой 4.8x13 | |
| 13 | 10010 | Передний малый щиток |
Содержащиеся в справочниках-каталогах запасные части и детали не предлагаются к продаже, а носят исключительно информационный характер