Каталог запасных частей к технике: ЗиД Мотороллер LF-50Q-2А. Подножки пассажира
1
2
3
4
5
6
7
8
9
9
10
10
11
11
12
12
13
14
15
15
16
16
17
17
18
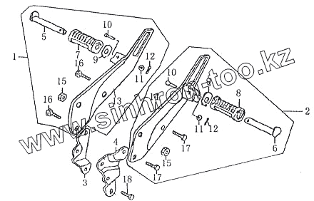
| Позиция на иллюстрации | Заводской номер детали | Название детали | |
|---|---|---|---|
| 1 | 42760 | Подножка задняя правая в сборе | |
| 2 | 42770 | Подножка задняя левая в сборе | |
| 3 | 42740 | Кронштейн подножки правый | |
| 4 | 42750 | Кронштейн подножки левый | |
| 5 | 42780 | Стержень задней подножки правой | |
| 6 | 42790 | Стержень задней подножки левой | |
| 7 | 42761 | Валик подножки | |
| 8 | 42771 | Валик подножки | |
| 9 | 42763 | Пластина стопорная стержня | |
| 10 | 42764 | Палец подножки | |
| 11 | GB/T97.1 | Шайба 6 | |
| 12 | GB/T91 | Шплинт 3.2х20 | |
| 13 | 42721 | Консоль подножки правая | |
| 14 | 42731 | Консоль подножки левая | |
| 15 | GB/T6170 | Гайка М6 | |
| 16 | GB/T16674.1 | Болт М6х25 | |
| 17 | GB/T16674.1 | Болт М6х25 | |
| 18 | GB/T16674.1 | Болт М6х25 |
Содержащиеся в справочниках-каталогах запасные части и детали не предлагаются к продаже, а носят исключительно информационный характер