Каталог запасных частей к технике: ЗиД Мотороллер LF-50Q-2А. Переключатели
1
2
3
4
5
6
7
8
9
10
10
11
12
13
14
15
16
17
17
18
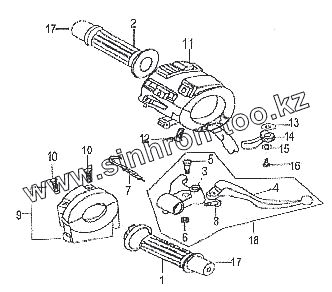
| Позиция на иллюстрации | Заводской номер детали | Название детали | |
|---|---|---|---|
| 1 | 47311 | Рукоятка дросселя | |
| 2 | 47411 | Рукоятка левая | |
| 3 | 47522 | Кронштейн рычага тормоза | |
| 4 | 47511 | Рычаг переднего тормоза | |
| 5 | 47512 | Кронштейн рычага сцепления | |
| 6 | GB/T6170 | Гайка М6 | |
| 7 | 32180 | Включатель переднего тормоза | |
| 8 | GB/T16674.1 | Болт М6х25 | |
| 9 | 35100 | Переключатель правый | |
| 10 | GB/T818 | Винт M5х12 | |
| 11 | 35200 | Переключатель левый | |
| 12 | GB/T818 | Винт M5х12 | |
| 13 | 35923 | Шайба волнистая | |
| 14 | 35921 | Рычаг обогатителя | |
| 15 | GB/T97.1 | Шайба 6 | |
| 16 | GB/T818 | Винт M5х12 | |
| 17 | 47420 | Втулка руля | |
| 18 | 47500 | Рычаг переднего тормоза |
Содержащиеся в справочниках-каталогах запасные части и детали не предлагаются к продаже, а носят исключительно информационный характер