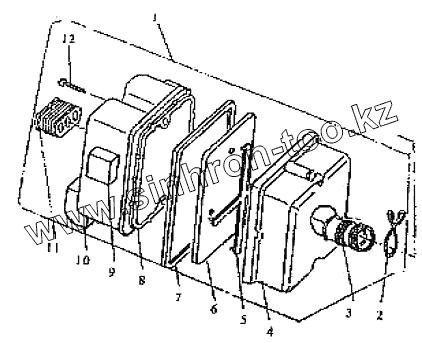
Каталог запасных частей к технике: ЗиД Мотороллер LF-50Q-2. Воздухофильтр в сборе
1
2
3
4
5
6
7
8
9
10
11
| Позиция на иллюстрации | Заводской номер детали | Название детали | |
|---|---|---|---|
| 1 | 710000 | Воздухофильтр в сборе | |
| 2 | 710001 | Хомут | |
| 3 | 710601 | Муфта соединительная | |
| 4 | 710501 | Корпус воздухофильтра | |
| 5 | 710502 | Опора фильтрующего элемента | |
| 6 | 710701 | Фильтр воздушный | |
| 7 | 710602 | Каркас фильтра | |
| 8 | 710503 | Прокладка воздухофильтра | |
| 9 | 710702 | Прокладка губчатая I | |
| 10 | 710703 | Прокладка губчатая II | |
| 11 | 710603 | Муфта впускная |
Содержащиеся в справочниках-каталогах запасные части и детали не предлагаются к продаже, а носят исключительно информационный характер