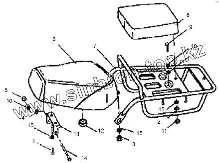
Каталог запасных частей к технике: ЗиД Мотороллер LF-50Q-2. Сиденье
2
4
4
6
7
8
9
10
10
12
13
14
15
15
15
| Позиция на иллюстрации | Заводской номер детали | Название детали | |
|---|---|---|---|
| 2 | GB93-87 | Пружинная шайба | |
| 4 | GB971-85 | Шайба 5-14OHV | |
| 6 | 11 | Сиденье | |
| 7 | 14 | Багажник в сборе | |
| 8 | 12 | Сиденье пассажира | |
| 9 | GB5783-86 | Болт М5х12 | |
| 10 | GB93-87 | Пружинная шайба | |
| 12 | 11-3 | Демпфер сидения | |
| 13 | 11-5 | Кронштейн сидения | |
| 14 | 00-7 | Ось кронштейна | |
| 15 | GB96-86 | Шайба 6 |
Содержащиеся в справочниках-каталогах запасные части и детали не предлагаются к продаже, а носят исключительно информационный характер