Каталог запасных частей к технике: ЗиД LF-200ZH-3. Указатели передние
1
2
3
4
5
6
7
8
9
10
10
11
12
13
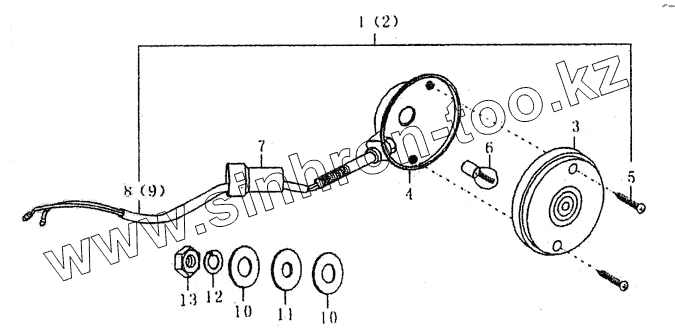
| Позиция на иллюстрации | Заводской номер детали | Название детали | |
|---|---|---|---|
| 1 | 957002190501 | Указатель левый передний | |
| 2 | 957002190401 | Указатель правый передний | |
| 3 | 957002490301 | Рассеиватель | |
| 4 | 957002400101 | Корпус указателя | |
| 5 | 957002400201 | Винт ST4,2x20 | |
| 6 | 957002490401 | Лампа | |
| 7 | 957002400301 | Втулка указателя | |
| 8 | 957002490501 | Жгут левый | |
| 9 | 957002490601 | Жгут правый | |
| 10 | 957002400401 | Шайба 10 | |
| 11 | 957002400501 | Прокладка | |
| 12 | 957002400601 | Шайба пружинная 10 | |
| 13 | 957002004201 | Гайка М10 | |
| 14 | 957002400701 | Втулка указателей поворотов |
Содержащиеся в справочниках-каталогах запасные части и детали не предлагаются к продаже, а носят исключительно информационный характер