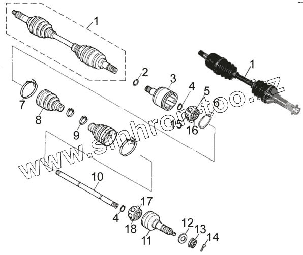
Каталог запасных частей к технике: ЗиД Квадроцикл LF-400ST. Валы привода передние
1
1
2
3
4
4
5
6
7
8
9
10
11
12
13
14
15
16
17
18
| Позиция на иллюстрации | Заводской номер детали | Название детали | |
|---|---|---|---|
| 1 | 58210 | Вал привода передний в сборе | |
| 2 | GB/T895.2 | Кольцо стопорное проволочное Q43719.5 | |
| 3 | 58215 | Корпус шруса | |
| 4 | GB/T894.1 | Пружинящее стопорное кольцо 58 | |
| 5 | 68215 | Сепаратор | |
| 6 | GB/T895.1 | Кольцо стопорное Q43860 | |
| 7 | QC/T619 | Стопорное кольцо Q676B20 | |
| 8 | 58216 | Пыльник шарнира | |
| 9 | QC/T619 | Стопорное кольцо Q676B20 | |
| 10 | 58211 | Вал | |
| 11 | 58212 | Корпус шруса внутреннего | |
| 12 | 93545 | Шайба | |
| 13 | 93212 | Гайка | |
| 14 | GB/T91 | Шплинт 3.2х20 | |
| 15 | GB/T308 | Шарик 6.400 | |
| 16 | 68217 | Обойма шарнира | |
| 17 | 58213 | Сепаратор | |
| 18 | 58214 | Обойма наружного шарнира |
Содержащиеся в справочниках-каталогах запасные части и детали не предлагаются к продаже, а носят исключительно информационный характер