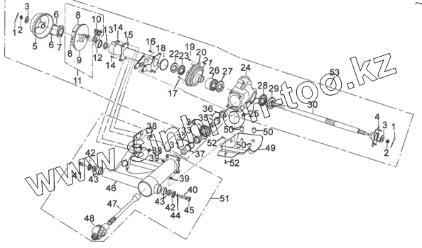
Каталог запасных частей к технике: ЗиД Квадроцикл LF-250ST–2. ЗАДНЯЯ ОСЬ В СБОРЕ
1
1
2
2
3
3
4
5
6
6
7
8
8
9
10
11
12
13
14
14
15
16
17
18
19
20
21
22
23
24
25
26
27
28
29
30
31
32
33
34
35
36
37
38
38
39
39
40
41
42
42
43
43
44
45
46
47
48
49
50
50
50
51
52
52
53
| Позиция на иллюстрации | Заводской номер детали | Название детали | |
|---|---|---|---|
| 1 | GB/T91 | Шплинт 3.2х20 | |
| 2 | GB/T9457 | Гайка М6 | |
| 3 | 93541 | Шайба | |
| 4 | 67420 | Ступица задней оси в комплекте | |
| 5 | 64212 | Барабан заднего тормоза | |
| 6 | GB/T16674.1 | Болт М6х25 | |
| 7 | 65189 | Планка щитка заднего тормоза | |
| 8 | 65110 | Колодки тормозные в сборе | |
| 9 | 66120 | Щиток заднего тормоза | |
| 10 | 65130 | Рычаг заднего тормоза | |
| 11 | 65100 | Задний тормоз | |
| 12 | GB/T276 | Подшипник 6301 | |
| 13 | GB/T13871 | Сальник FB45568 | |
| 14 | GB/T5786 | Болт М12x1,25x12 | |
| 15 | 67160 | Втулка задней оси в сборе | |
| 16 | GB/T16674.2 | Болт M12х1.25х80 | |
| 17 | GB/T16674.2 | Болт M12х1.25х80 | |
| 18 | GB/T3452.1 | Кольцо | |
| 19 | GB/T 16674.1 | Болт M5х12 | |
| 20 | 67111 | Корпус задней оси правый | |
| 21 | 68141 | Понижающая передача в комплекте | |
| 22 | GB/T13871 | Сальник FB45568 | |
| 23 | GB/T276 | Подшипник 6301 | |
| 24 | 67141 | Корпус задней оси левый | |
| 25 | 68112 | Спускная пробка | |
| 26 | GB/T 12764 | Игольчатый роликовый подшипник К55x66x20 | |
| 27 | GB/T13871 | Сальник FB45568 | |
| 28 | GB/T276 | Подшипник 6301 | |
| 29 | GB/T13871 | Сальник FB45568 | |
| 30 | 64911 | Ось задняя | |
| 31 | 68132 | Опора понижающей зубчатой передачи | |
| 32 | GB/T3452.1 | Кольцо | |
| 33 | 68136 | Стопорное кольцо | |
| 34 | GB/T276 | Подшипник 6301 | |
| 35 | 68131 | Шестерня ведущая | |
| 36 | GB/T12764 | Игольчатый роликовый подшипник К22x30x16 | |
| 37 | GB/T13871 | Сальник FB45568 | |
| 38 | GB/T6187.2 | Гайка M12х1.25 | |
| 39 | GB/T6187.2 | Гайка M12х1.25 | |
| 40 | 93132 | Болт | |
| 41 | 93131 | Болт М8x20 | |
| 42 | GB/T13871 | Сальник FB45568 | |
| 43 | GB/T297 | Подшипник 30203 | |
| 44 | 67164 | Втулка распорная | |
| 45 | 93216 | Контргайка | |
| 46 | 61100 | Маятник в сборе | |
| 47 | 68311 | Ведущий привод | |
| 48 | 68330 | Универсальный шарнир | |
| 49 | 67650 | Кронштейн защитный | |
| 50 | 43933 | Резиновая деталь | |
| 51 | 61000 | Маятник | |
| 52 | GB/T 16674.1 | Болт M5х12 | |
| 53 | 67000 | Задняя ось в сборе | |
| 54 | Пыльник карданного вала | Пыльник карданного вала |
Содержащиеся в справочниках-каталогах запасные части и детали не предлагаются к продаже, а носят исключительно информационный характер