Каталог запасных частей к технике: ЗиД Квадроцикл LF-250ST–2. РУЛЕВАЯ КОЛОНКА
1
1
2
2
2
2
3
3
3
4
5
6
6
7
7
8
9
9
10
10
11
11
12
12
13
14
14
15
16
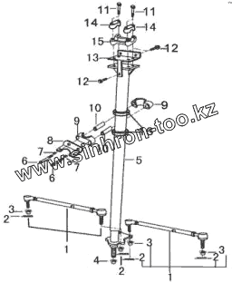
| Позиция на иллюстрации | Заводской номер детали | Название детали | |
|---|---|---|---|
| 1 | 51610 | Тяга рулевой трапеции в сборе | |
| 2 | GB/T91 | Шплинт 3.2х20 | |
| 3 | GB/T9457 | Гайка М6 | |
| 4 | GB/T6187.1 | Гайка М6 | |
| 5 | 51210 | Траверса в сборе | |
| 6 | GB/T5782 | Болт M8х35 | |
| 7 | GB/T93 | Шайба 6 | |
| 8 | 19930 | Опора заливной горловины | |
| 9 | 51851 | Опорный подшипник вала руля | |
| 10 | 51853 | Штифт установочный подшипника | |
| 11 | GB/T16674.2 | Болт M12х1.25х80 | |
| 12 | GB/T 16674.1 | Болт M5х12 | |
| 13 | 37920/50ST-5 | Кронштейн крепления счетчика | |
| 14 | 47151/50ST-2 | Хомут рулевого управления | |
| 15 | 47121/50ST-2 | Держатель трубки руля | |
| 16 | 51852/50ST-2 | Сальник рулевой колонки |
Содержащиеся в справочниках-каталогах запасные части и детали не предлагаются к продаже, а носят исключительно информационный характер