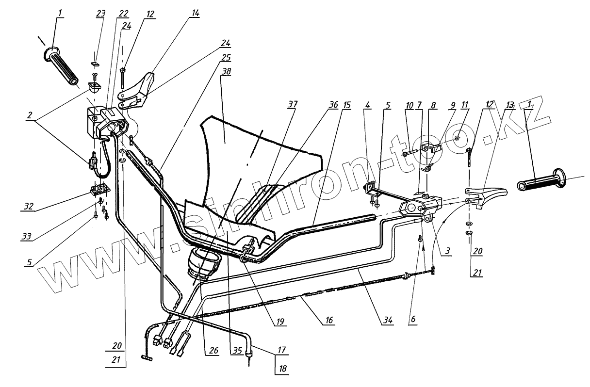
Каталог запасных частей к технике: УМПО-500 "Рысь". Рулевой узел
1
1
2
3
4
5
5
6
7
8
9
10
11
12
12
13
14
15
16
17
18
19
20
20
21
21
22
23
24
24
25
26
32
33
34
34
35
36
37
38
| Позиция на иллюстрации | Заводской номер детали | Название детали | |
|---|---|---|---|
| 1 | 119.03.000.021 | Ручка | |
| 2 | В1 ИЮМА 642.131.001ТУ | Выключатель зажигания | |
| 3 | 113.12.020.015 | Корпус переключателей левый | |
| 4 | ПС ИЮМА 642.131.002ТУ | Переключатель света фары | |
| 5 | [Винт 3х10 ОСТ37.001.184-81] | Винт 3х10 ОСТ37.001.184-81 | |
| 6 | [Винт М6-6gх20.48.05 ГОСТ17473-80] | Винт М6-6gх20.48.05 ГОСТ17473-80 | |
| 7 | 113.12.020.009 | Пластина информационная | |
| 8 | 113.12.020.004-01 | Защелка | |
| 9 | 113.12.020.007 | Пружина защелки | |
| 10 | 113.12.020.006 | Ось защелки | |
| 11 | [Шайба 2.65Г Хим.Окс.Прм. ГОСТ11648-75] | Шайба 2.65Г Хим.Окс.Прм. ГОСТ11648-75 | |
| 12 | 113.12.020.005 | Ось рычага | |
| 13 | 113.12.020.002 | Рукоятка тормоза левая | |
| 14 | 113.12.035.003 | Рычаг управления дросселем | |
| 15 | 219.03.010.000 | Руль | |
| 16 | 113.12.101.000 | Трос тормоза | |
| 17 | 113.06.000.020-1 | Пружина | |
| 18 | [Гайка М8-6Н ОСТ37.001.109-96] | Гайка М8-6Н ОСТ37.001.109-96 | |
| 19 | 113.00.000.054 | Хомутик | |
| 20 | [Шайба 3.65Г Хим. Окс. Прм. ГОСТ11648-75] | Шайба 3.65Г Хим. Окс. Прм. ГОСТ11648-75 | |
| 21 | [Шайба 5 ОСТ37.001.144-96] | Шайба 5 ОСТ37.001.144-96 | |
| 22 | 113.12.035.010 | Корпус переключателей правый | |
| 23 | 119.11.300.017 | Пластинка | |
| 24 | 113.12.030.004-01 | Пластина информационная | |
| 25 | 113.12.103.000-02 | Трос газа | |
| 26 | 119.00.000.101 | Переходник | |
| 32 | 113.12.030.003-01 | Крышка | |
| 33 | [Винт М6-6gх14.48.05 ГОСТ1491-80] | Винт М6-6gх14.48.05 ГОСТ1491-80 | |
| 34 | 119.11.440.000СБ | Включатель | |
| 34 | ИЖВК 103-3720110-20 | Включатель | |
| 35 | 219.00.000.022 | Пластина | |
| 36 | 219.00.000.023 | Пластина | |
| 37 | 219.00.000.024 | Пластина | |
| 38 | 219.00.020.000 | Чехол |
Содержащиеся в справочниках-каталогах запасные части и детали не предлагаются к продаже, а носят исключительно информационный характер