Каталог запасных частей к технике: УМПО-500 "Рысь". Лыжа и передняя подвеска
1
2
3
3
4
4
5
6
6
6
6
6
6
7
8
9
9
11
12
13
14
14
15
15
15
15
15
16
16
16
16
16
16
16
17
18
19
19
19
19
19
19
19
20
21
21
22
23
25
26
26
27
28
29
30
31
31
32
34
35
35
36
36
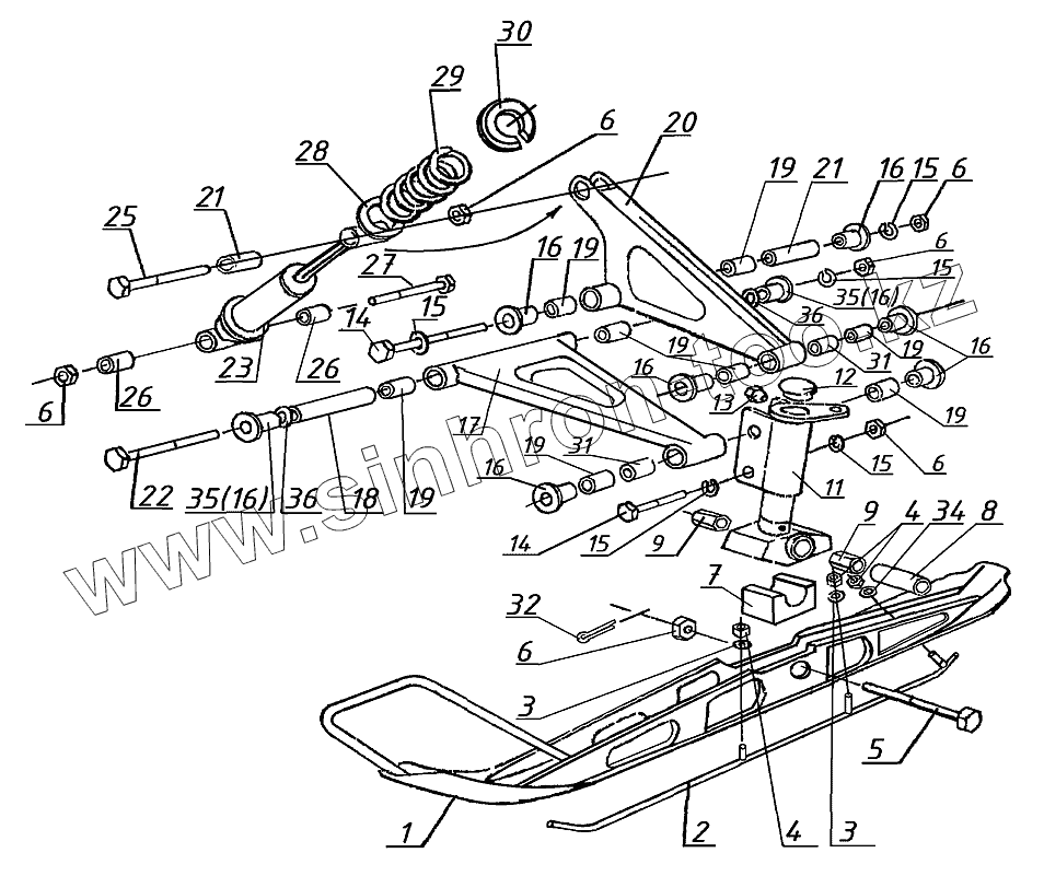
| Позиция на иллюстрации | Заводской номер детали | Название детали | |
|---|---|---|---|
| 1 | 113.03.115.000-01 | Лыжа | |
| 2 | 113.03.120.000 | Полоз | |
| 3 | [Шайба 8 ОСТ37.001.144-96] | Шайба 8 ОСТ37.001.144-96 | |
| 4 | [Гайка М8-6Н ОСТ37.001.109-96] | Гайка М8-6Н ОСТ37.001.109-96 | |
| 5 | [Болт 2М10х1,25-6gх105.88.016 ГОСТ7805-70] | Болт 2М10х1,25-6gх105.88.016 ГОСТ7805-70 | |
| 6 | [Гайка М10х1,25-6H ОСТ37.001.109-96] | Гайка М10х1,25-6H ОСТ37.001.109-96 | |
| 7 | 113.03.000.013 | Амортизатор | |
| 8 | 113.03.000.003 | Палец | |
| 9 | 119.00.000.500-02 | Подшипник | |
| 11 | 113.03.210.000 | Стойка | |
| 12 | 113.03.200.001 | Пробка | |
| 13 | [Масленка 1.1.Ц6хр ГОСТ19853-74] | Масленка 1.1.Ц6хр ГОСТ19853-74 | |
| 14 | [Болт М10х1,25-6gх85.88.016 ГОСТ7798-70] | Болт М10х1,25-6gх85.88.016 ГОСТ7798-70 | |
| 15 | [Шайба 10.65Г.016 ГОСТ6402-70] | Шайба 10.65Г.016 ГОСТ6402-70 | |
| 16 | 113.02.001.034 | Втулка | |
| 17 | 113.03.600.000-01 | Нижний рычаг | |
| 18 | 219.03.000.010 | Труба распорная | |
| 19 | 119.00.000.500-01 | Подшипник | |
| 20 | 113.03.500.000 | Верхний рычаг | |
| 21 | 113.03.000.006-02 | Труба распорная | |
| 22 | 119.02.100.000-02 | Болт | |
| 23 | 27.9.2905006 | Амортизатор ТУ РБ500032891.079-2000 | |
| 25 | [Болт М10х1,25-6gх120.88.016 ГОСТ7798-70] | Болт М10х1,25-6gх120.88.016 ГОСТ7798-70 | |
| 26 | 119.03.000.019 | Втулка | |
| 27 | [Болт М10х1,25-6gх95.88.016 ГОСТ7798-70] | Болт М10х1,25-6gх95.88.016 ГОСТ7798-70 | |
| 28 | 113.03.001.025 | Шайба | |
| 29 | 113.03.000.024 | Пружина | |
| 30 | 119.03.000.023 | Фланец | |
| 31 | 113.03.000.006 | Труба распорная | |
| 32 | [Шплинт 2,5х25.016 ГОСТ397-79] | Шплинт 2,5х25.016 ГОСТ397-79 | |
| 34 | 119.02.000.012 | Шайба | |
| 35 | 219.03.000.009 | Втулка | |
| 36 | 113.02.001.048 | Шайба |
Содержащиеся в справочниках-каталогах запасные части и детали не предлагаются к продаже, а носят исключительно информационный характер