Каталог запасных частей к технике: Suzuki AZ50. Маслонасос
1
2
3
4
5
6
7
8
8
9
9
10
10
10
11
12
13
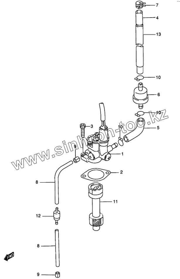
| Позиция на иллюстрации | Заводской номер детали | Название детали | |
|---|---|---|---|
| 1 | 16100-43E10 | Маслонасос в сборе | |
| 2 | 16731-37B00 | Прокладка маслонасоса | |
| 3 | 07130-05163 | Болт крепления маслонасоса | |
| 4 | 09359-45854-600 | Шланг подачи масла (4,5х8,5, 6х9,5, дл.600) | |
| 5 | 16821-43E00 | Масляный шланг №1 (L=50) | |
| 6 | 16850-06F00 | Масляный фильтр | |
| 7 | 09401-09403 | Хомут масляного шланга | |
| 8 | 09352-20503-600 | Масляный шланг (2х5, L=600) | |
| 9 | 09401-04401 | Хомут | |
| 10 | 09401-08401 | Пружинный хомут вакуумного шланга | |
| 11 | 16331-43E00 | Шестерня привода маслонасоса | |
| 12 | 16910-41D00 | Обратный клапан масляного шланга | |
| 13 | 09351-10127-600 | Масляный шланг (10х12, L=600) |
Содержащиеся в справочниках-каталогах запасные части и детали не предлагаются к продаже, а носят исключительно информационный характер