Каталог запасных частей к технике: Русская механика Снегоход "Тайга-Атака". Система электрозапуска
1
2
2
2
3
4
5
6
7
8
9
10
11
11
12
12
13
14
15
16
17
18
18
19
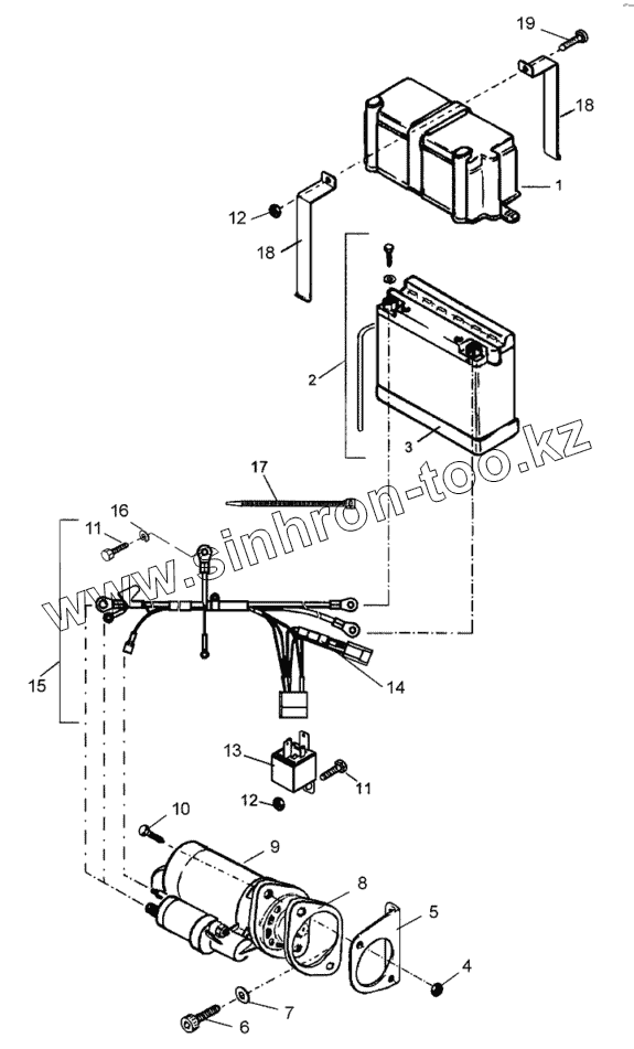
| Позиция на иллюстрации | Заводской номер детали | Название детали | |
|---|---|---|---|
| 1 | С40000023 | Кожух | |
| 2 | DETA 520012020 | Аккумулятор DETA 520012020 | |
| 2 | EXIDE 520012020 | Аккумулятор EXIDE 520012020 | |
| 2 | Varta 52012 | Аккумулятор Varta 52012 | |
| 3 | С40000021 | Подложка | |
| 4 | 110501430 | Гайка | |
| 5 | С40500124 | Кронштейн | |
| 6 | 1-7002-2840 | Винт М8-6gх20 | |
| 7 | [Шайба 8.65Г.016 ГОСТ6402-70] | Шайба 8.65Г.016 ГОСТ6402-70 | |
| 8 | С40500167 | Шайба регулировочная | |
| 9 | 9141460 | Электростартер Magneton | |
| 10 | 356-70512 | Болт М10-6gх35 | |
| 11 | 1/09022/21 | Болт М6-6gх16 | |
| 12 | 1/25742/11 | Гайка самоконтрящаяся М6-6Н | |
| 13 | 3110.3747 | Реле стартера 3110-3747.000ТУ | |
| 14 | ПР117-01 ТУ37.003.731-76 | Предохранитель ПР117-01 ТУ37.003.731-76 | |
| 15 | С41100380 | Жгут электрозапуска | |
| 16 | [Шайба 6.65Г.016 ГОСТ6402-70] | Шайба 6.65Г.016 ГОСТ6402-70 | |
| 17 | [Хомут 3,6х150 GW 52255] | Хомут 3,6х150 GW 52255 | |
| 18 | С40000022 | Стяжка | |
| 19 | 1/09028/21 | Болт М6-6gх30 |
Содержащиеся в справочниках-каталогах запасные части и детали не предлагаются к продаже, а носят исключительно информационный характер