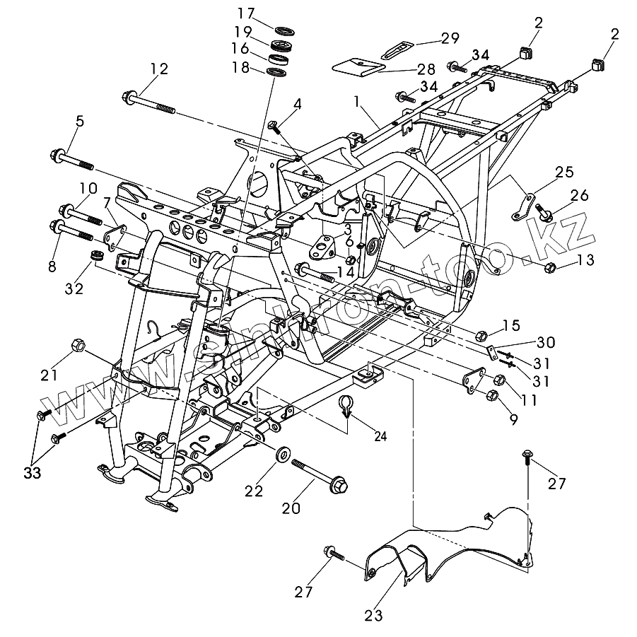
Каталог запасных частей к технике: Jianshe JS400 ATV-2. Рама
1
2
2
3
4
5
6
7
8
10
11
12
16
17
18
19
20
22
23
24
25
26
27
27
28
29
30
31
31
32
33
34
34
| Позиция на иллюстрации | Заводской номер детали | Название детали | |
|---|---|---|---|
| 1 | SSC3-101000-2 | Рама | |
| 2 | SSC3-100601-0 | Квадратная заглушка | |
| 3 | SSC0-001000-0 | Верхний кронштейн крепления двигателя | |
| 4 | [Болт М8х16 GB/T5787-86] | Болт М8х16 GB/T5787-86 | |
| 5 | [Болт М8х55 GB/T5787-86] | Болт М8х55 GB/T5787-86 | |
| 6 | [Гайка М8 GB/T6187-86] | Гайка М8 GB/T6187-86 | |
| 7 | SSC0-000404-0 | Передняя пластина крепления двигателя | |
| 8 | [Болт М8х85 GB/T5787-86] | Болт М8х85 GB/T5787-86 | |
| 10 | [Болт М10х85 GB/T5787-86] | Болт М10х85 GB/T5787-86 | |
| 11 | [Гайка М10 GB/T6187-86] | Гайка М10 GB/T6187-86 | |
| 12 | [Болт М10х100 GB/T5787-86] | Болт М10х100 GB/T5787-86 | |
| 16 | 6203-2RS | Подшипник GB/T276-93 | |
| 17 | SSC3-102000-0 | Уплотнительное кольцо 1 | |
| 18 | SSC3-103000-0 | Уплотнительное кольцо 2 | |
| 19 | SSC3-100001-0 | Болт с внутренним шестигранником | |
| 20 | [Болт М10х115 GB/T5787-86] | Болт М10х115 GB/T5787-86 | |
| 22 | [Шайба 10 GB/T97.1-86] | Шайба 10 GB/T97.1-86 | |
| 23 | SSC0-000513-0 | Защита передней ведущей оси | |
| 24 | SSA0-000512-0 | Фиксатор 4 | |
| 25 | SSC0-000403-0 | Скоба крепления включателя заднего тормоза | |
| 26 | [Болт М6х12 GB/T5787-86] | Болт М6х12 GB/T5787-86 | |
| 27 | [Болт СМ6х12 Q/JR YP1-92] | Болт СМ6х12 Q/JR YP1-92 | |
| 28 | SSA9-000000-0 | Ящик с инструментом | |
| 29 | SSA5-460000-0 | Манометр в сборе | |
| 30 | SSC0-000402-0 | Эмблема | |
| 31 | [Заклепка 3,2х7 GB/T2618-90] | Заклепка 3,2х7 GB/T2618-90 | |
| 32 | SSC3-100501-0 | Резиновое кольцо | |
| 33 | [Болт М6х20 GB/T5787-86] | Болт М6х20 GB/T5787-86 | |
| 34 | [Болт М8х16 Q/JR.YP33-92] | Болт М8х16 Q/JR.YP33-92 |
Содержащиеся в справочниках-каталогах запасные части и детали не предлагаются к продаже, а носят исключительно информационный характер