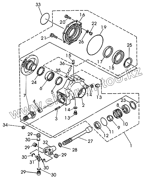
Каталог запасных частей к технике: Jianshe JS400 ATV-2. Приводная коробка
1
2
3
4
5
6
7
8
9
10
11
12
13
13
14
14
15
16
17
18
19
20
21
22
23
24
25
26
27
28
29
29
29
29
30
30
30
30
31
32
33
34
35
36
| Позиция на иллюстрации | Заводской номер детали | Название детали | |
|---|---|---|---|
| 1 | SSC3-930000-0 | Корпус приводной коробки в сборе | |
| 2 | SSA3-930201-0 | Корпус приводной коробки | |
| 3 | SSA3-930001-0 | Шпилька | |
| 4 | SSA3-936000-0 | Игольчатый подшипник (малый) | |
| 5 | SSA3-933000-0 | Манжета | |
| 6 | SSA3-935000-0 | Игольчатый подшипник (большой) | |
| 7 | SSC3-937000-0 | Косозубая шестерня | |
| 8 | 6305 | Подшипник GB/T 276-94 | |
| 9 | SSA3-930002-0 | Втулка | |
| 10 | SSA3-930004-0 | Обгонная муфта | |
| 11 | SSA3-930601-0 | Кольцо | |
| 12 | SSA3-932000-0 | Уплотнительная манжета обгонной муфты | |
| 13 | SSA3-930003-0 | Пробка | |
| 14 | ZA1-600401-0 | Уплотнительная шайба | |
| 15 | SSA3-930202-0 | Пробка стравливания воздуха | |
| 16 | SSA3-930203-0 | Крышка приводной коробки | |
| 17 | SSA3-934000-0 | Уплотнительная манжета корпуса коробки | |
| 18 | 16013 | Роликовый подшипник GB/T276-94 | |
| 19 | [Кольцо 155х2,65G GB/TT3452.1-92] | Кольцо 155х2,65G GB/TT3452.1-92 | |
| 20 | [Болт М8х25 GB/T 9074.14-88] | Болт М8х25 GB/T 9074.14-88 | |
| 21 | [Болт M10х1.25х45-6G Q/JR YP33-92] | Болт M10х1.25х45-6G Q/JR YP33-92 | |
| 22 | SSC3-930001-0 | Ограничитель | |
| 23 | SSC3-930402-0 | Тяговый блок | |
| 24 | SSA3-930402-0 | Регулировочная прокладка (1,6) | |
| 25 | SSA3-930403-0 | Кольцевая прокладка | |
| 26 | SSC3-930401-0 | Регулировочная прокладка | |
| 27 | SSC0-000002-0 | Задний приводной вал | |
| 28 | [Стопорное кольцо GB/T894.1-86] | Стопорное кольцо GB/T894.1-86 | |
| 29 | FG-586000-0 | Игольчатый подшипник | |
| 30 | FG-580402-0 | Полукольцо | |
| 31 | F3-584000-0 | Крестовина | |
| 32 | F3-580306-0 | Универсальный задний блок | |
| 33 | [Кольцо 85х3,55G GB/T3452.1-92] | Кольцо 85х3,55G GB/T3452.1-92 | |
| 34 | [Гайка М10х1,25 Q/JR YP34-1992] | Гайка М10х1,25 Q/JR YP34-1992 | |
| 35 | SSC0-000605-0 | Трубка стравливания воздуха задней коробки | |
| 36 | SSA0-000802-0 | Зажим трубки стравливания воздуха |
Содержащиеся в справочниках-каталогах запасные части и детали не предлагаются к продаже, а носят исключительно информационный характер