Каталог запасных частей к технике: Jianshe JS400 ATV-2. Коробка передач
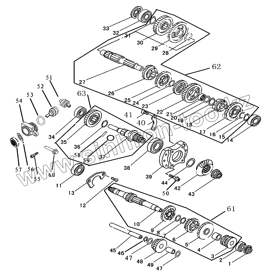
1
2
3
4
5
6
7
8
9
10
11
12
13
14
15
16
17
18
19
20
21
22
23
24
25
26
27
28
29
30
31
32
33
34
35
36
37
38
39
40
41
42
43
44
45
46
47
47
48
49
50
51
52
53
54
55
56
58
59
60
61
62
63
| Позиция на иллюстрации | Заводской номер детали | Название детали | |
|---|---|---|---|
| 1 | F3-503000-0 | Уплотнительная манжета главной оси | |
| 2 | 6203 | Подшипник GB/T 276-94 | |
| 3 | F3-510302-0 | Шестерня 2-й передачи | |
| 4 | F3-510001-0 | Втулка оси | |
| 5 | F3-510305-0 | Шестерня 5-й передачи | |
| 6 | F3-510303-0 | Шестерня 3-й передачи | |
| 7 | F3-510401-0 | Стопорное кольцо | |
| 8 | F3-510402-0 | Шайба | |
| 9 | F3-510304-0 | Шестерня 4-й передачи | |
| 10 | F3-510301-0 | Главная ось | |
| 11 | F3-505000-0 | Подшипник(50х22х14) | |
| 12 | [Винт M6х16-ZN5.D GB/T 819.1-88] | Винт M6х16-ZN5.D GB/T 819.1-88 | |
| 13 | F3-500403-0 | Пластина крепления подшипника главной оси | |
| 14 | 6204 | Подшипник GB/T 276-94 | |
| 15 | F3-520405-0 | Стопорное кольцо | |
| 16 | F3-520406-0 | Шайба | |
| 17 | F3-524000-0 | Шестерня 2-й передачи | |
| 18 | F3-520307-0 | Втулка вилки | |
| 19 | F3-520403-0 | Стопорное кольцо | |
| 20 | F3-520404-0 | Шайба | |
| 21 | F3-520001-0 | Втулка | |
| 22 | F3-520305-0 | Шестерня задней передачи | |
| 23 | F3-520304-0 | Шестерня 5-й передачи | |
| 24 | F3-520402-0 | Стопорное кольцо | |
| 25 | F3-520302-0 | Шестерня 3-й передачи | |
| 26 | F3-520303-0 | Шестерня 4-й передачи | |
| 27 | F3-521000-0 | Приводная ось | |
| 28 | F3-520401-0 | Шайба | |
| 29 | F3-522000-0 | Шестерня 1-й передачи | |
| 30 | F3-520306-0 | Шестерня | |
| 31 | [Стопорное кольцо 26 GB/T894.2-86] | Стопорное кольцо 26 GB/T894.2-86 | |
| 32 | 6304 | Подшипник GB/T 276-94 | |
| 33 | F3-504000-0 | Уплотнительная манжета приводной оси | |
| 34 | 6004 | Подшипник GB/T 276-94 | |
| 35 | F3-570301-0 | Промежуточная шестерня | |
| 36 | [Стопорное кольцо 26 GB/T 894.2-86] | Стопорное кольцо 26 GB/T 894.2-86 | |
| 37 | F3-570302-0 | Промежуточный приводной вал | |
| 38 | 6206C2 | Подшипник GB/T 276-94 | |
| 39 | F3-500202-0 | Установочный корпус подшипника | |
| 40 | F3-500409-0 | Нажимная пластина | |
| 41 | [Винт M8х25-ZN5.D GB/T 819.1-86] | Винт M8х25-ZN5.D GB/T 819.1-86 | |
| 42 | F3-580307-0 | Шестерня | |
| 43 | F3-580852-0 | Гайка М22х1 | |
| 44 | F3-580410-0 | Регулировочная прокладка | |
| 45 | F3-500004-0 | Ось | |
| 46 | [Стопорное кольцо 15 GB/T 894.2] | Стопорное кольцо 15 GB/T 894.2 | |
| 47 | F3-500405-0 | Шайба | |
| 48 | F3-500306-0 | Шестерня задней передачи 2 | |
| 49 | F3-500003-0 | Втулка | |
| 50 | [Болт M8х30-10.9-ZN5.D GB/T5789-86] | Болт M8х30-10.9-ZN5.D GB/T5789-86 | |
| 51 | F3-500304-0 | Приводная шестерня | |
| 52 | F3-500305-0 | Приводная шестерня | |
| 53 | F3-500601-0 | Кольцо | |
| 54 | F3-500201-0 | Корпус приводной шестерни | |
| 55 | 95026-06015 | Болт Q/JR YP80-2000 | |
| 56 | F3-500407-0 | Шайба | |
| 58 | F3-570001-0 | Штифт | |
| 59 | F3-570701-0 | Кольцо | |
| 60 | [Болт М6х30 GB/T 5782-86] | Болт М6х30 GB/T 5782-86 | |
| 61 | F3-510000-0 | Главная ось в сборе | |
| 62 | F3-520000-0 | Приводная ось в сборе | |
| 63 | F3-570000-0 | Промежуточный приводной вал |
Содержащиеся в справочниках-каталогах запасные части и детали не предлагаются к продаже, а носят исключительно информационный характер