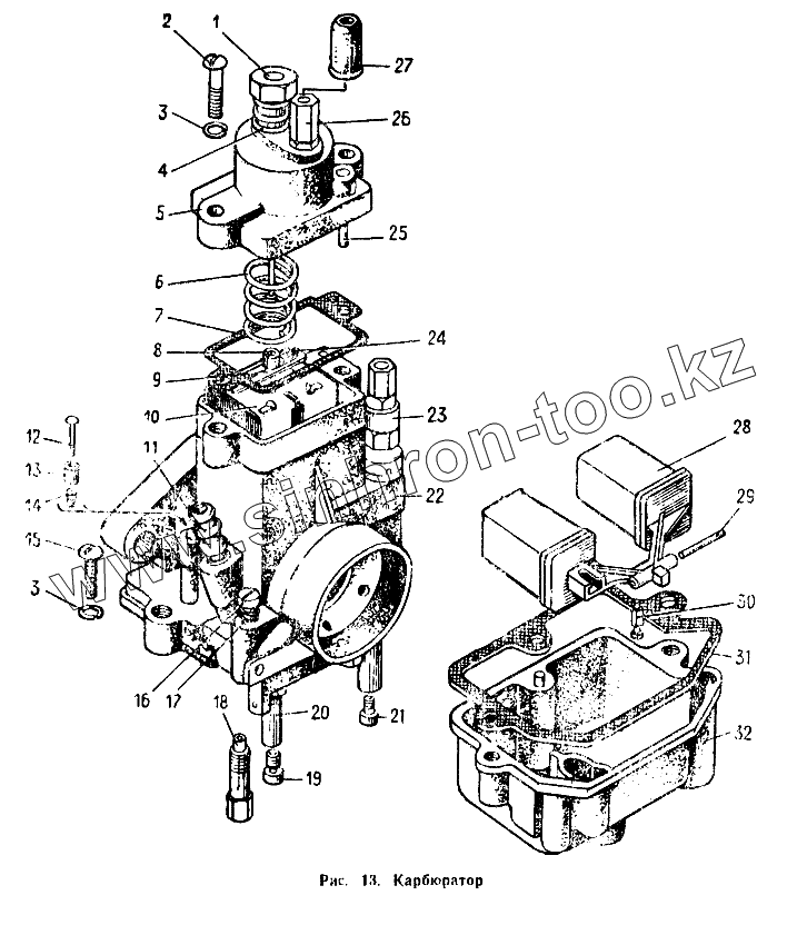
Каталог запасных частей к технике: ИЖМОТО ИЖ-7.107 "Планета-5". Карбюратор
1
2
3
3
4
5
6
7
8
9
10
11
12
13
14
15
16
17
18
19
20
21
22
23
24
25
26
27
28
29
30
31
32
| Позиция на иллюстрации | Заводской номер детали | Название детали | |
|---|---|---|---|
| К65ИЭ-1107010 | К65ИЭ-1107010 | Карбюратор | |
| К65ИТ-1107010 | К65ИТ-1107010 | Карбюратор | |
| К65И-1107010 | К65И-1107010 | Карбюратор | |
| 1 | К63И-1107925 | Винт подъема дросселя в сборе | |
| 2 | К62-1107055 | Винт | |
| 3 | 900902-0 | Шайба | |
| 4 | К63У-1107511 | Пружина | |
| 5 | К63-1107506 | Крышка карбюратора | |
| 6 | К62-1107048 | Пружина дросселя | |
| 7 | К62-1107052 | Прокладка крышки карбюратора | |
| 8 | К65И-1107892 | Игла дросселя | |
| 9 | К65И-1107894 | Планка | |
| 10 | К65И-1107890 | Дроссель и сборе | |
| 11 | К62-1107724 | Штуцер топливоподводящий | |
| 12 | К62-1107616 | Шток утопителя | |
| 13 | К30-1107114А | Суфлер | |
| 14 | К30-1107115 | Пружина утопителя | |
| 15 | 220082-29 | Винт М5-6gх20 | |
| 16 | К23-59 | Винт регулировочный холостого хода | |
| 17 | 907103-0 | Пружина | |
| 18 | К62П-1107205 | Трубка дозирующая холостого хода | |
| 19 | К62П-1107246 | Жиклер | |
| 20 | К62П-1107170 | Распылитель главной системы в сборе | |
| 21 | К126Е-1107202 | Жиклер | |
| 22 | К65И-1107105 | Корпус карбюратора с втулкой утопителя | |
| 23 | К63-1107060 | Корректор обогатителя в сборе | |
| 24 | К65И-1107893 | Замок иглы дросселя | |
| 25 | К28Д-1107032 | Ограничитель хода дросселя | |
| 26 | К62-1107525 | Направляющая троса в сборе | |
| 27 | К60-1107527 | Колпачок уплотнительный | |
| 28 | К62-1107640 | Поплавок в сборе | |
| 29 | К62-1107661 | Ось поплавка | |
| 30 | К62-1107675 | Игла клапана в сборе | |
| 31 | К62-1107053 | Прокладка | |
| 32 | К62-1107128 | Камера поплавковая |
Содержащиеся в справочниках-каталогах запасные части и детали не предлагаются к продаже, а носят исключительно информационный характер