Каталог запасных частей к технике: CF Moto ATV-CF500-A. Задняя подвеска
1
1
2
3
4
4
4
4
4
4
4
4
5
5
5
5
5
5
5
5
5
5
5
6
6
6
6
7
7
8
9
10
11
12
12
13
13
13
13
13
14
14
15
15
16
16
16
17
18
18
18
18
18
19
19
20
21
21
21
21
21
21
21
22
22
22
22
22
22
22
22
22
22
22
22
22
23
23
24
25
26
27
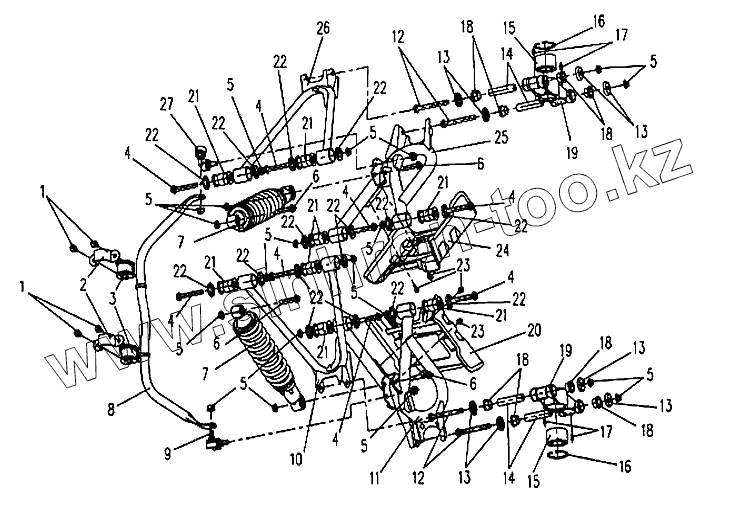
| Позиция на иллюстрации | Заводской номер детали | Название детали | |
|---|---|---|---|
| 1 | [Болт М8х14 GB5789] | Болт М8х14 GB5789 | |
| 2 | 901-06.00.02 | Скоба | |
| 3 | 901-06.00.03 | Резиновая поддержка | |
| 4 | [Болт М10х1,25х70 GB5789] | Болт М10х1,25х70 GB5789 | |
| 5 | [Гайка М10х1,25 GB6187] | Гайка М10х1,25 GB6187 | |
| 6 | [Болт М10х1,25х50 GB5789] | Болт М10х1,25х50 GB5789 | |
| 7 | 901-06.06.00 | Задний амортизатор | |
| 8 | 901-06.05.00 | Стабилизатор | |
| 9 | 901-06.07.00 | Шаровая опора (левая) | |
| 10 | 901-06.03.00 | Левый задний рычаг (верхний) | |
| 11 | 901-06.04.00 | Левый задний рычаг (нижний) | |
| 12 | [Болт М10х1,25х100 GB5789] | Болт М10х1,25х100 GB5789 | |
| 13 | 901-06.09.00 | Пылезащитный колпачок | |
| 14 | 901-06.00.05 | Центральная распорка | |
| 15 | DAC3055W | Подшипниковый узел | |
| 16 | [Стопорное кольцо] | Стопорное кольцо | |
| 17 | [Заглушки отверстий для смазки GB1152 M6] | Заглушки отверстий для смазки GB1152 M6 | |
| 18 | 901-06.00.04 | Втулка | |
| 19 | 901-06.00.01 | Кронштейн вала заднего колеса | |
| 20 | 901-04.00.19 | Задняя подвесная защита (левая) | |
| 21 | 901-05.05.00 | Втулка | |
| 22 | 901-05.00.03 | Колпачок втулки | |
| 23 | [Болт М6х12 GB5789] | Болт М6х12 GB5789 | |
| 24 | 901-04.00.20 | Задняя подвесная защита (правая) | |
| 25 | 901-06.02.00 | Правый задний рычаг (нижний) | |
| 26 | 901-06.01.00 | Правый задний рычаг (верхний) | |
| 27 | 901-06.08.00 | Шаровая опора (правая) |
Содержащиеся в справочниках-каталогах запасные части и детали не предлагаются к продаже, а носят исключительно информационный характер