Каталог запасных частей к технике: CF Moto ATV-CF500-A. Рама
1
2
2
2
2
3
4
4
4
4
4
4
4
5
6
7
8
9
10
11
11
12
13
14
15
15
16
17
17
17
17
17
17
17
17
18
19
20
20
21
22
23
24
25
26
27
28
29
30
31
32
33
34
35
36
37
37
38
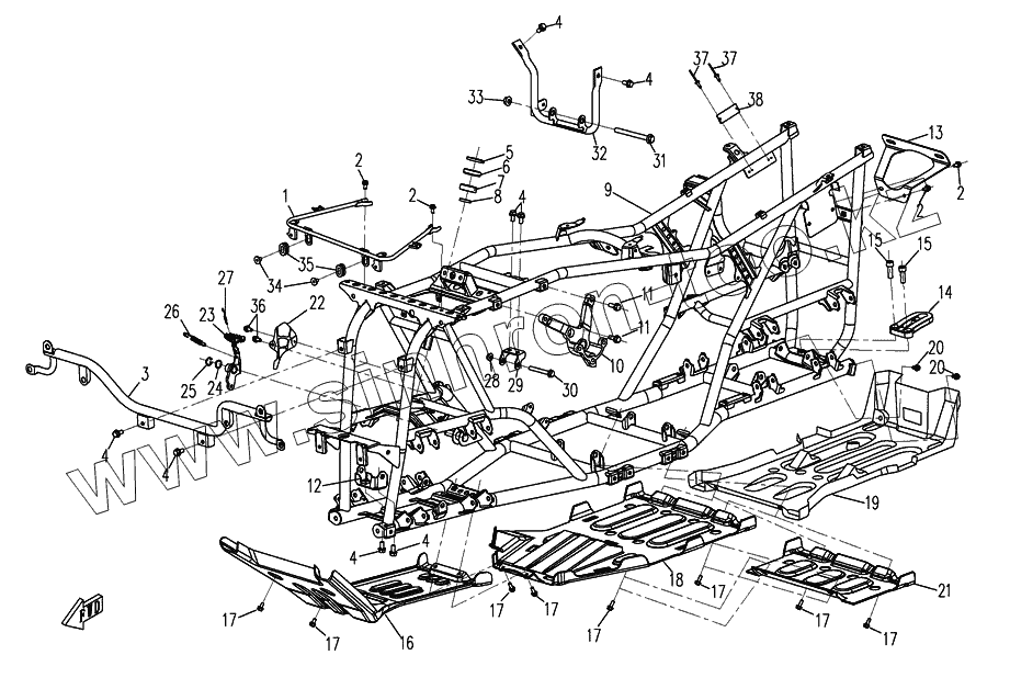
| Позиция на иллюстрации | Заводской номер детали | Название детали | |
|---|---|---|---|
| 1 | 901-03.00.40 | Верхний кронштейн радиатора | |
| 2 | [Болт М6х12 GB5789] | Болт М6х12 GB5789 | |
| 3 | 901-03.00.50 | Кронштейн фар | |
| 4 | [Болт М8х14 GB5789] | Болт М8х14 GB5789 | |
| 5 | [Уплотнительное кольцо GB/T13871 FB44х25х7] | Уплотнительное кольцо GB/T13871 FB44х25х7 | |
| 6 | 901-03.00.03 | Фиксатор подшипника | |
| 7 | 6203RS | Подшипник GB276 | |
| 8 | [Уплотнительное кольцо GB/T13871 FB36х25х8] | Уплотнительное кольцо GB/T13871 FB36х25х8 | |
| 9 | 901-03.01.00A | Рама | |
| 10 | 901-32.00.01 | Алюминиевая скоба | |
| 11 | [Болт М8х25 GB5789] | Болт М8х25 GB5789 | |
| 12 | 901-03.00.01 | Кронштейн передней оси | |
| 13 | 901-03.00.12 | Задний кронштейн номерного знака | |
| 14 | 901-03.00.02 | Буксировочная петля | |
| 15 | [Болт М10х1,25х40 GB70] | Болт М10х1,25х40 GB70 | |
| 16 | 901-04.00.17 | Передняя защитная пластина двигателя | |
| 17 | [Болт М6х16 GB5789] | Болт М6х16 GB5789 | |
| 18 | 901-04.00.16 | Центральная защитная пластина двигателя | |
| 19 | 901-04.00.15 | Задняя защитная пластина двигателя | |
| 20 | CF250T-340002 | Болт М6х14 | |
| 21 | 901-04.00.01A | Защитная пластина | |
| 22 | 901-03.00.09 | Защитная пластина переднего тормозного диска и масляного насоса | |
| 23 | 901-08.02.10 | Педаль тормоза | |
| 24 | [Шайба 14 GB95.1 14] | Шайба 14 GB95.1 14 | |
| 25 | [Фиксатор] | Фиксатор | |
| 26 | 901-08.02.01 | Возвратная пружина педали | |
| 27 | 901-08.02.03 | Пружина выключателя тормоза | |
| 28 | [Гайка М8 GB6187] | Гайка М8 GB6187 | |
| 29 | 901-03.73.00 | Верхний кронштейн | |
| 30 | [Болт М8х60 GB5789] | Болт М8х60 GB5789 | |
| 31 | [Болт М10х1,25х100 GB5789] | Болт М10х1,25х100 GB5789 | |
| 32 | 901-03.72.00 | Задний кронштейн | |
| 33 | [Гайка М10х1,25 GB6187] | Гайка М10х1,25 GB6187 | |
| 34 | 50203100002 | Резиновая прокладка переднего кронштейна номерного знака | |
| 35 | 901-03.00.47 | Резиновая прокладка | |
| 36 | [Болт М6х10 GB5789] | Болт М6х10 GB5789 | |
| 37 | [Заклепка GB869-86] | Заклепка GB869-86 | |
| 38 | 901-19.00.14A | Табличка |
Содержащиеся в справочниках-каталогах запасные части и детали не предлагаются к продаже, а носят исключительно информационный характер