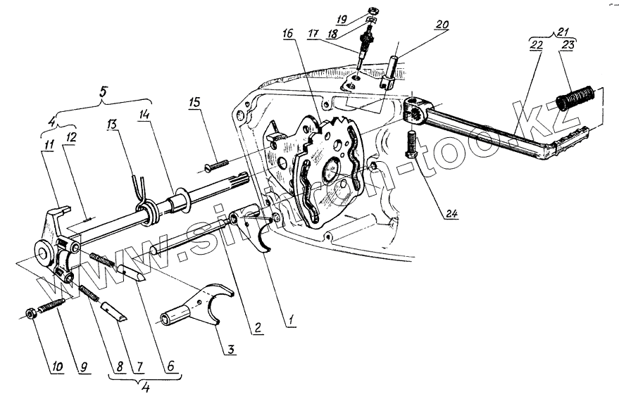
Каталог запасных частей к технике: Бренд «МИНСК» Минск С 125. Механизм переключения передач
1
2
3
4
4
5
6
7
8
9
10
11
12
13
14
15
16
17
18
19
20
21
22
23
24
| Позиция на иллюстрации | Заводской номер детали | Название детали | |
|---|---|---|---|
| 1 | 105-17319 | Вилка | |
| 2 | 105-17317 | Ось | |
| 3 | 105-17320 | Вилка | |
| 4 | 3.112-17326А | Корпус | |
| 5 | 3.112-17322А | Корпус | |
| 6 | 105-17338 | Собачка верхняя | |
| 7 | 105-17337 | Собачка нижняя | |
| 8 | 105-17331 | Пружина | |
| 9 | 3.1122-17345 | Винт | |
| 10 | 250510 | Гайка М8 | |
| 11 | 3.112-17327Б | Валик | |
| 12 | 105-17330 | Штифт собачки | |
| 13 | 3.115-17344 | Пружина возвратная | |
| 14 | 3.115-17350 | Втулка распорная | |
| 15 | 105-17321А | Винт | |
| 16 | 3.1121-17305 | Диск | |
| 17 | 3.1122-17356 | Контакт неподвижный | |
| 18 | 3.1121-17357 | Скоба | |
| 19 | 250462 | Гайка M4 | |
| 20 | М1А-1702245 | Фиксатор | |
| 21 | 3.113-17340 | Педаль переключения | |
| 22 | 3.113-17344 | Педаль | |
| 23 | 3.115-17342А | Валик | |
| 24 | 201456 | Болт М8х20 |
Содержащиеся в справочниках-каталогах запасные части и детали не предлагаются к продаже, а носят исключительно информационный характер