Каталог запасных частей к технике: ЗИЛ ЗИС-110. Рама
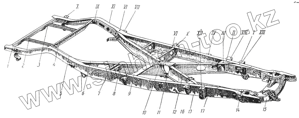
1
2
3
4
5
6
7
8
9
10
11
12
13
14
15
16
17
| Позиция на иллюстрации | Заводской номер детали | Название детали | |
|---|---|---|---|
| 110-2801221 | 110-2801221 | Вставка лонжерона передняя левая в сборе | |
| 110-2801158 | 110-2801158 | Скоба гибкого шланга заднего тормоза | |
| 110-2801247 | 110-2801247 | Распорка заднего раскоса передняя левая | |
| 110-2801253 | 110-2801253 | Распорка заднего раскоса задняя левая | |
| 110-2801113 | 110-2801113 | Раскос передний левый в сборе | |
| 110-2801131 | 110-2801131 | Раскос задний левый в сборе | |
| 110-2801010-Б | 110-2801010-Б | Рама в сборе для открытого кузова | |
| 110-2801010 | 110-2801010 | Рама в сборе | |
| 110-2801015 | 110-2801015 | Лонжерон левый в сборе с кронштейнами кузова, ограничителя хода рычага амортизатора, рессоры, скобой штуцера гибкого шланга переднего тормоза и распорной коробкой картера руля | |
| 110-2801293 | 110-2801293 | Кронштейн передка открытого кузова передний левый | |
| 252770-П | 252770-П | Ось-заклепка | |
| 252770-П | 252770-П | Ось-заклепка | |
| 252770-П | 252770-П | Ось-заклепка | |
| 252770-П | 252770-П | Ось-заклепка | |
| 252770-П | 252770-П | Ось-заклепка | |
| 252806-П | 252806-П | Заклепка крепления поперечины № 1 к лонжерону | |
| 252803-П | 252803-П | Заклепка крепления поперечины № 1 к лонжерону | |
| 252768-П | 252768-П | Заклепка крепления балки бензинового бака | |
| 110-2801271 | 110-2801271 | Вставка лонжерона задняя левая в сборе | |
| 110-2801295 | 110-2801295 | Кронштейн передка открытого кузова задний левый в сборе | |
| 1 | 110-2801190 | Поперечина № 3 в сборе | |
| 2 | 110-2801200 | Балка подвески бензинового бака правая в сборе | |
| 3 | 110-2801201 | Балка подвески бензинового бака левая в сборе | |
| 4 | 110-2801170 | Поперечина № 2 в сборе | |
| 5 | 110-2801270 | Вставка лонжерона задняя правая в сборе | |
| 6 | 110-2801130 | Раскос задний правый в сборе | |
| 7 | 310-2801252 | Распорка заднего раскоса задняя правая | |
| 8 | 110-2801260 | Кронштейн подвески глушителя | |
| 9 | 110-2801246 | Распорка заднего раскоса передняя правая | |
| 10 | 110-2801162 | Косынка раскосов верхняя | |
| 11 | 1102801163 | Косынка раскосов нижняя | |
| 12 | 110-2801112 | Раскос передний правый в сборе | |
| 13 | 110-2801014 | Лонжерон правый в сборе с кронштейнами кузова, ограничителя хода рычага амортизатора, рессоры и скобой штуцера гибкого шланга переднего тормоза | |
| 14 | 110-2801220 | Вставка лонжерона передняя правая в сборе | |
| 15 | 110-2801090 | Поперечина № 1 в сборе | |
| 16 | 110-2801292 | Кронштейн передка открытого кузова передний правый | |
| 17 | 110-2801294 | Кронштейн передка открытого кузова задний правый в сборе |
Содержащиеся в справочниках-каталогах запасные части и детали не предлагаются к продаже, а носят исключительно информационный характер