Каталог запасных частей к технике: ЗИЛ ЗИС-101. Буфера
515-08С4
515-087
515-087
515-0717
515-0718
515-0839
515-083
515-07С1
515-0813
515-089
515-089
515-08С2
515-08С2
515-088
515-088
515-085
515-085
515-08С5
515-08С5
515-07С2
515-07С2
515-074
515-073
515-0814
515-0814
515-0812
515-081
515-0810
515-081
515-084
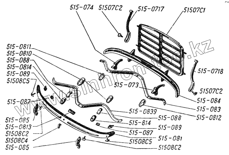
| Позиция на иллюстрации | Заводской номер детали | Название детали | |
|---|---|---|---|
| 515-08С4 | 515-08С4 | Накладка болта крепления буфера | |
| Н-2355 | Н-2355 | Шайба пружинная | |
| Н-2366 | Н-2366 | Шайба пружинная | |
| Н-23117 | Н-23117 | Шайба пружинная | |
| 515-087 | 515-087 | Шайба крепления накладки буфера | |
| 515-0717 | 515-0717 | Рычаг рамы багажника правый | |
| 515-0718 | 515-0718 | Рычаг рамы багажника левый | |
| 515-0839 | 515-0839 | Рессора переднего буфера | |
| 515-083 | 515-083 | Рессора заднего буфера | |
| 515-07С1 | 515-07С1 | Рама багажника в сборе | |
| 515-0813 | 515-0813 | Прокладка рессоры буфера | |
| 515-089 | 515-089 | Прокладка кронштейна заднего и переднего буферов | |
| 515-08С2 | 515-08С2 | Накладка с болтом в сборе | |
| 515-088 | 515-088 | Накладка рессоры переднего буфера | |
| 515-085 | 515-085 | Накладка буфера | |
| 515-08С5 | 515-08С5 | Накладка болта крепления буфера | |
| 515-07С2 | 515-07С2 | Барашек крепления рамы багажника | |
| 515-074 | 515-074 | Кронштейн рамы багажника правый | |
| 515-073 | 515-073 | Кронштейн рамы багажника левый | |
| 515-0814 | 515-0814 | Колпачок болтов переднего буфера левый | |
| Н-1383 | Н-1383 | Гайка | |
| Н-13142 | Н-13142 | Гайка | |
| 515-0812 | 515-0812 | Воротник уплотнительный кронштейна заднего буфера правый | |
| 515-081 | 515-081 | Буфер передний | |
| 515-0810 | 515-0810 | Воротник уплотнительного кронштейна переднего буфера | |
| Н-12308 | Н-12308 | Винт с круглой головкой | |
| 515-08С8 | 515-08С8 | Буфер передний в сборе | |
| 515-081 | 515-081 | Буфер передний | |
| 515-08С9 | 515-08С9 | Буфер задний в сборе | |
| 515-084 | 515-084 | Буфер задний | |
| Н-11286 | Н-11286 | Болт |
Содержащиеся в справочниках-каталогах запасные части и детали не предлагаются к продаже, а носят исключительно информационный характер