Вернуться на главную
Поиск
Каталоги запчастей к технике
Легковые автомобили
УАЗ
Профи
Привод тормоза стояночного
Каталог запасных частей к технике: УАЗ Профи. Привод тормоза стояночного
zoom-in
zoom-out
enlarge
shrink
circle-right
circle-left
file-text2
info
cart
Тип техники
Не выбрано
Легковые автомобили
Грузовые автомобили и прицепы
Автобусы
Сельхозтехника
Спецтехника
Двигатели
Мототехника
Марка
Не выбрано
BYD
Chevrolet
Daewoo
Geely
Great Wall
Hyundai
Lifan
Tata
АЗЛК
ВАЗ
ГАЗ
ЗАЗ
ЗИЛ
ИЖ
ЛуАЗ
РАФ
УАЗ
Модель
Не выбрано
4CT90-1ME
UAZ Patriot (2007)
Кондиционер UAZ Patriot (2007)
КПП (Арзамас)
Патриот КЛАССИК (2020)
Патриот КОМФОРТ (2020)
Патриот ЛИМИТЕД 316300-0000305-11 (2020)
Патриот ПИКАП (2020)
Профи (2009)
Профи Стандарт (236324-0000014-00) (2020)
Профи Стандарт (236324-0000100-00) (2020)
Профи Стандарт (236324-0001214-00) (2020)
УАЗ 3741 (каталог 2002 г.) (2002)
УАЗ Patriot (2005)
УАЗ-2206
УАЗ-3151 (1993)
УАЗ-31512 (2002)
УАЗ-31514 (2002)
УАЗ-31519 (2002)
УАЗ-31519 (2005)
УАЗ-31519 (2007)
УАЗ-3160 (2002)
УАЗ-3303
УАЗ-3741
УАЗ-37419 (2009)
УАЗ-3962
Схема
>
Не выбрано
Бак топливный
Бачок расширительный
Блок цилиндров двигателя
Вал коленчатый
Валы распределительные, клапаны, гидротолкатели двигателя
Вентилятор с муфтой
Глушитель основной, резонатор двигателя
Головка блока цилиндров двигателя
Двигатель
Коллектор выпускной и нейтрализатор двигателя
Комплект ГРМ (двухрядная цепь)
Контроллер электронной системы управления двигателем
Модуль педали акселератора
Насос топливный, рампа, форсунки двигателя
Насос, термостат системы охлаждения
Подвеска двигателя
Поршни, шатуны двигателя
Привод агрегатов двигателя
Привод газораспределительного механизма двигателя
Радиатор охлаждения
Система вентиляции картерных газов двигателя
Система впуска двигателя
Система зажигания двигателя
Система смазки двигателя
Система улавливания топливных испарений
Стартер двигателя
Трубопроводы топливные
Фильтр воздушный
Фильтр тонкой очистки топлива
Шкивы двигателя
Щитки радиатора
Воздухозаборник системы отопления
Детали модуля отопителя
Модуль и воздуховоды системы отопления
Пульт управления отопителем
Фильтр салона
Шланги отопителя
Вал карданный моста переднего
Вал привода моста заднего коробки раздаточной
Вал привода моста переднего коробки раздаточной
Валы коробки передач 5-ти ступенчатой
Дифференциал моста заднего
Дифференциал моста заднего
Дифференциал моста переднего
Картер коробки передач 5-ти ступенчатой
Картер коробки раздаточной
Картер с кожухами полуосей, передача главная моста заднего
Картер с кожухами полуосей, передача главная моста заднего
Картер, передача главная моста переднего
Комплект сцепления
Коробка передач 5-ти ступенчатая
Крепеж коробки передач 5-ти ступенччатой к двигателю
Крепеж коробки раздаточной
Кулаки поворотные, шкворни, шарниры, цапфа кулака поворотного моста переднего
Механизм переключения коробки передач 5-ти ступенчатой
Механизм переключения коробки раздаточной
Мост задний
Мост передний
Муфта выключения сцепления
Педаль сцепления
Передача карданная моста заднего
Привод сцепления на кузове
Привод сцепления на шасси
Амортизатор подвески задней
Колесо штампованное
Колонка рулевая
Механизм рулевой с гидроусилителем
Насос ГУР, бачок расширительный масляный, шланги
Пружины, амортизаторы подвески передней
Рессора подвески задней
Стабилизатор подвески задней
Стабилизатор поперечной устойчивости подвески передней
Ступица колеса заднего
Ступица колеса переднего
Тяга поперечная подвески передней
Штанги реактивные подвески передней
Брызговики двигателя
Вентиляция вытяжная
Зеркало заднего вида наружное
Козырьки противосолнечные
Колесо рулевое
Крепеж номерного знака заднего
Крепеж номерного знака переднего
Крышка люка горловины наливной бака топливного
Локеры и фартуки передние
Молдинги кузова
Накладки/облицовки, чехлы рычагов коробки передач и коробки раздаточной
Обивка крыши
Обивки дверей задних
Обивки дверей передних
Обивки, облицовки
Облицовка подножки
Облицовка радиатора
Облицовки панели приборов
Подставки сиденья переднего пассажирского
Покрытие и облицовка пола
Поручни крыши
Принадлежности запасного колеса
Ремни безопасности
Сиденья задние
Сиденья передние
Тент, дуги тента
Туннель пола
Установка облицовок сидений задних
Шумоизоляция
Ящик вещевой
Кронштейн педали тормоза
Привод тормоза стояночного
Рычаг привода тормоза стояночного
Суппорт, блок цилиндров тормоза переднего
Тормоз задний
Тормоз передний
Тормоз стояночный
Трубки и шланги тормозные
Усилитель вакуумный
Цилиндр рабочий тормоза заднего
илиндр тормозной главный
Шланг усилителя вакуумного
Масло моторное
Бампер передний
Двери передние
Детали боковины
Детали передка
Детали платформы грузовой
Детали платформы грузовой
Детали рамы
Капот с упором ручным
Крепеж кабины к раме
Крепеж платформы грузовой к раме
Крылья передние
Панель задка
Панель пола
Панель рамы ветрового окна
Панель, детали крыши
Привод и механизм открытия капота
Ручки и замки двери задней левой
Ручки и замки двери задней правой
Ручки и замки двери передней левой
Ручки и замки двери передней правой
Стекла кузова
Стекла кузова
Стеклоподъемники и уплотнители дверей передних
Стеклоподъемники и уплотнители задних дверей
Уплотнители кузова
Антиблокировочная система (ABS)
Блок управления электропакетом
Датчик температуры и концевики
Жгут освещения салона
Жгут панели приборов
Жгут проводов кабины
Жгут проводов ЭСУД
Жгуты дверей
Жгуты проводов моторного отсека
Жгуты проводов основные
Жгуты проводов рамы
Заглушка магнитолы
Комбинация приборов
MУС, блок управления стеклоподъемниками, блок переключателей на панели приборов
Омыватель окна ветрового
ОСВЕЩЕНИЕ ВЕЩЕВОГО ЯЩИКА
Освещение переднее
Освещение переднее
Освещение салона
Переключатели и заглушки туннеля пола
Переключатели и заглушки туннеля пола
Подушка безопасности
Предохранители
Реле в панели приборов
Реле в подкапотном пространстве
Розетки
Сигнал звуковой
Стеклоочиститель окна ветрового
Домкрат и инструменты водителя
Защита топливного бака
Батарея аккумуляторная и крепеж
Ремни приводные
Тормозные диски и колодки
Фильтр воздушный (элемент фильтрующий)
Фильтр тонкой очистки топлива
Щетки стеклоочистителя передние
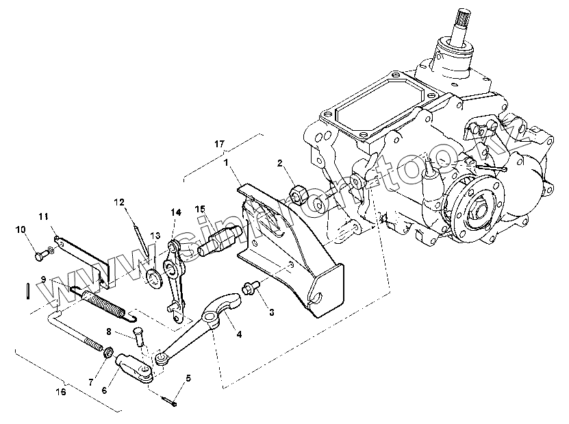
8
17
16
14
13
12
11
10
9
7
6
5
4
3
2
1
Позиция на иллюстрации
Заводской номер детали
Название детали
8
000000026003429
Палец
17
316300350808600
Кронштейн привода стояночного тормоза с опорой
16
316200350804200
Тяга привода стояночного тормоза
14
316000350815095
Рычаг промежуточный троса привода стояночного тормоза
13
000000025201629
Шайба
12
000000025805429
Шплинт
11
316300350816095
Кронштейн пружины
10
000000020141729
Болт
9
005100110617500
Пружина оттяжная рычага ручной подкачки бензинового насоса
0-1
000000025215429
Шайба
7
000000025061129
Гайка
6
045000160211301
Вилка тяги выключения сцепления
5
000000025803829
Шплинт
4
046900350805000
Рычаг привода стояночного тормоза
3
000459376111700
Болт
2
000000025055929
Гайка
1
316300350808700
Кронштейн привода
0-2
316000350815200
Рычаг промежуточный троса привода стояночного тормоза
Содержащиеся в справочниках-каталогах запасные части и детали не предлагаются к продаже, а носят исключительно информационный характер
Дополнительная информация
×
Название:
Номер:
Примечание: