Вернуться на главную
Поиск
Каталоги запчастей к технике
Легковые автомобили
Geely
Geely CK
FLOOR INTERIOR TRIM & ACCESSORY
Каталог запасных частей к технике: Geely CK. FLOOR INTERIOR TRIM & ACCESSORY
zoom-in
zoom-out
enlarge
shrink
circle-right
circle-left
file-text2
info
cart
Тип техники
Не выбрано
Легковые автомобили
Грузовые автомобили и прицепы
Автобусы
Сельхозтехника
Спецтехника
Двигатели
Мототехника
Марка
Не выбрано
BYD
Chevrolet
Daewoo
Geely
Great Wall
Hyundai
Lifan
Tata
АЗЛК
ВАЗ
ГАЗ
ЗАЗ
ЗИЛ
ИЖ
ЛуАЗ
РАФ
УАЗ
Модель
Не выбрано
Geely CK (2008)
Geely FC (2008)
Geely MK (2009)
Схема
>
Не выбрано
BODY ASSY
BODY FRAME ASSY
ENGINE COMPARTMENT ASSY
ENGINE HOOD ASSY
TRUNK LID ASSY
LF SPLASH GUARD & FRT SIDE RAIL ASSY
RF SPLASH GUARD & FRT SIDE RAIL ASSY
LEFT WALL ASSY
RIGHT WALL ASSY
ROOF SKIN ASSY
ROOF SKIN FRONT CROSS MEMBER SUB-ASSY
LF DOOR ASSY
LR DOOR ASSY
RR DOOR ASSY
RF DOOR ASSY
WING ASSY
FRONT FLOOR ASSY
REAR FLOOR ASSY
TOOLS & ACCESSORY
FLOOR INTERIOR TRIM & ACCESSORY
FLOOR CUSHION & ACCESSORY
INSTRUMENT PANEL ASSY
CENTER INSTRUMENT PANEL ASSY
CONSOLE ASSY
AT GEARSHIFT CONTROL PANEL ASSY
CROSS MEMBER ASSY
FRONT CONSOLE ASSY
INSTRUMENT PANEL ASSY
FRONT PILLAR INTERIOR TRIM
CENTER PILLAR INTERIOR TRIM
REAR POLE INTERIOR TRIM & REAR DOORSILL
SIDE WALL INTERIOR TRIM & ACCESSORY
TRUNK WEATHERSTRIP
TRUNK LOWER PART REAR TRIM BOARD ASSY
TRUNK INTERIOR TRIM & ACCESSORY
TRUNK LID INTERIOR TRIM & ACCESSORY
ROOF SKIN INTERIOR TRIM & ACCESSORY
SAFETY BELT ASSY
LF DOOR INTERIOR TRIM ASSY
FRONT DOOR POWER WINDOW REGULATOR ASSY
LF DOOR LOCK & HANDLE
FRONT DOOR
LF DOOR INTERIOR TRIM & ACCESSORY
RF DOOR INTERIOR TRIM ASSY
RF DOOR LOCK & HANDLE
RF DOOR INTERIOR TRIM & ACCESSORY
LR DOOR INTERIOR TRIM ASSY
REAR DOOR WINDOW REGULATOR ASSY
LR DOOR LOCK & HANDLE
LR DOOR INTERIOR TRIM & ACCESSORY
RR DOOR INTERIOR TRIM ASSY
RR DOOR LOCK & HANDLE
REAR DOOR WEATHERSTRIP
RR DOOR INTERIOR TRIM & ACCESSORY
SEAT ASSY
FRONT BUMPER ASSY
REAR BUMPER ASSY
EMBLEMS
FRONT & REAR WINDSHIELD
FRONT WIND DEFLECTOR
ELECTRIC REARVIEW MIRROR & VENT COVER PLATE
OIL FILLER CAP
ROOF SKIN & DOOR TRIM STRIP
SPLASH GUARD, WING & DOORSILL TRIM BOARD ASSY
LICENSE PLATE ASSY
ENGINE HOOD INTERIOR TRIM & ACCESSORY
SUNROOF FIXING ASSY
SEAT REPAIR KIT
KEY & LOCK CYLINDER ASSY
MR479Q ENGINE ASSY
MR479QA ENGINE ASSY
MR481QA ENGINE ASSY
CLUTCH SYSTEM (S110)
CLUTCH SYSTEM (S160)
ENGINE MOUNTING ASSY (13L)
ENGINE MOUNTING ASSY (13L NEW)
ENGINE MOUNTING ASSY (15L)
ENGINE MOUNTING ASSY (15L NEW)
ENGINE MOUNTING ASSY (AT)
FUEL TANK ASSY
FUEL PIPE & FUEL EVAPORATION ASSY
FUEL PIPE & FUEL EVAPORATIVE ASSY (EURO III)
INTAKE ASSY
COOLING SYSTEM ASSY (MT/RADIATOR BACKWARD)
COOLING SYSTEM ASSY (MT/RADIATOR FORWARD)
COOLING SYSTEM ASSY (AT)
EXHAUST SYSTEM ASSY
PETROL ENGINE ASSEMBLY
PETROL ENGINE COMPONENTS
CYLINDER BLOCK SUB-ASSEMBLY
CYLINDER HEAD COVER COMPONENTS
CYLINDER HEAD
CYLINDER BLOCK COMPONENTS
TIMING BELT COVER AND BELT PULLEYS
PISTON CONNECTING ROD COMPONETS
CRANKSHAFT FLYWHEEL COMPONENT
CAMSHAFT
VALVE
TIMING BELT
OIL PUMP ASSEMBLY
OIL STRAINER AND OIL PAN COMPONENTS
THERMOSTAT ASSEMBLY
WATER PUMP ASSEMBLY
THROTTLE(EURO II)
THROTTLE(EURO III & EURO IV)
INTAKE MANIFOLD COMPONENTS
EXHAUST MANIFOLD COMPONENTS
FUEL INJECTOR
IGNITION CABLE ASSEMBLY
ECU & IGNITION COIL
ALTERNATOR COMPONENTS
STARTER
FUEL PUMP ASSEMBLY
ENGINE MOUNTING
FUEL FILTER
PHASE SENSOR AND BASE
COLD AIR INTAKE BOX
ACCELERATOR PEDAL ASSY
TRANSMISSION CONTROL ASSY (S110)
TRANSMISSION CONTROL ASSY (S160)
AT CONTROL ASSY
CLUTCH CONTROL ASSY
FRONT SUSPENSION ASSY
REAR SUSPENSION ASSY
DRIVING SHAFT ASSY
WHEEL ASSY
STEERING WHEEL ASSY (4-SPOKE)
STEERING COLUMN ASSY (HYDRAULIC POWER)
STEERING COLUMN ASSY (ELECTRIC,ADJUSTABLE)
STEERING PIPE ASSY
EPS ASSY
LF DISC BRAKE WITH STEERING KNUCKLE ASSY
RF DISC BRAKE WITH STEERING KNUCKLE ASSY
LEFT STEERING KNUCKLE ASSY
RIGHT STEERING KNUCKLE ASSY
LR AXLE HEAD WITH DRUM BRAKE WHEEL HUB ASSY (ABS)
LR AXLE END WITH DRUM BRAKE WHEEL HUB ASSY (W/O ABS)
RR AXLE HEAD WITH DRUM BRAKE WHEEL HUB ASSY (ABS)
RR AXLE HEAD WITH DRUM BRAKE WHEEL HUB ASSY (W/O ABS)
CLUTCH & BRAKE FOOTPLATE ASSY
BRAKE PIPELINE ASSY(ABS)
BRAKE PIPELINE ASSY(W/O ABS)
PARKING BRAKE CONTROL ASSY
CHASSIS REPAIR KIT
CLUTCH ASSEMBLY
S160G TRANSMISSION ASSEMBLY SPARE PARTS
S160G TRANSAXLE ASSEMBLY SPARE PARTS
S160G DIFFERENTIAL ASSEMBLY SPARE PARTS
S160G COVER-GEARSHIFT ASSEMBLY SPARE PARTS
S160G SHIFT SYSTEM ASSEMBLY SPARE PARTS
S160G OUTPUT SHAFT ASSEMBLY SPARE PARTS
S160G SHAFT-INPUT ASSEMBLY SPARE PARTS
S160 TRANSMISSION ASSEMBLY SPARE PARTS
S160 TRANSAXLE ASSEMBLY SPARE PARTS
S160 DIFFERENTIAL ASSEMBLY SPARE PARTS
S160 COVER-GEARSHIFT ASSEMBLY SPARE PARTS
S160 SHIFT SYSTEM ASSEMBLY SPARE PARTS
S160 OUTPUT SHAFT ASSEMBLY SPARE PARTS
S160 SHAFT-INPUT ASSEMBLY SPARE PARTS
INSTRUMENT PANEL ASSY
ELECTRIC SWITCH ASSY
COMBINATION HEADLIGHT ASSY
FRONT FOGLIGHT & LICENSE PLATE LAMP ASSY
DOOR LAMP & TURN SIGNAL ASSY
INTERIOR DOME LIGHT & HIGH-MOUNTED BRAKE LIGHT ASSY
WIPER ASSY
FRONT WINDOW WASHER ASSY
CENTER CONTROL DOOR LOCK ELECTRIC ASSY(REMOTE CONTROL)
RADIO & CD-ROM ASSY(SINGLE CD)
CD-ROM & DVD-ROM ASSY(MULTIPLE CD)
BASIN TYPE HORN ASSY (DUAL AUDIO FREQUENCY)
BATTERY & BRACKET ASSY
SRS ASSY
POWER WINDOW REGULATOR ASSY
FUSE BLOCK
FRONT & REAR WIRING HARNESS ASSY
INSTRUMENT PANEL WIRING HARNESS ASSY
INTERIOR DOME LIGHT WIRING HARNESS ASSY
DOOR WIRE HARNESS ASSY
WHEEL & VEHICLE SPEED SENSOR ASSY
STARTER
A/C SYSTEM ASSY
COMPRESSOR ASSY
PIPELINE SYSTEM ASSY
RESERVOIR WITH BRACKET ASSY
CONDENSATOR FRAME
EVAPORATOR ASSY
HEATER SYSTEM ASSY
CONTROL SYSTEM ASSY
1
2
3
4
5
6
7
8
9
10
10
11
11
12
12
13
14
15
16
17
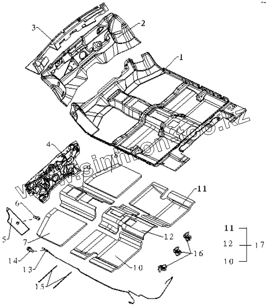
Позиция на иллюстрации
Заводской номер детали
Название детали
FLOOR INSIDE TRIM AND ACCESSORY
FLOOR INSIDE TRIM AND ACCESSORY
FLOOR INSIDE TRIM AND ACCESSORY
1
1802219180
CARPET
2
1801917180
COWL PANEL LOWER SOUND INSULATION
3
1801686180
COWL PANEL UPPER SOUND INSULATION
4
1801918180
COWL PANEL OUTER PANEL HEAT INSULATION
5
1801697180
FRONT FLOOR LF SOUND INSULATION
6
CROSS HEAD BOLT
CROSS HEAD BOLT
7
1802221180
FOOTPLATE
8
1801698180
FRONT FLOOR RF SOUND INSULATION
9
1801873180
FRONT FLOOR MF SOUND INSULATION
10
1801874180
FRONT FLOOR LR SOUND INSULATION
11
1801700180
FRONT FLOOR RR SOUND INSULATION
12
1801722180
FRONT FLOOR MR SOUND INSULATION
13
1801722180
FRONT FLOOR MR SOUND INSULATION
14
HEXAGON HEAD BOLT AND SPRING WASHER ASSY
HEXAGON HEAD BOLT AND SPRING WASHER ASSY.
15
STRAP
STRAP
16
HOOP
HOOP
17
1801874180
FRONT FLOOR LR SOUND INSULATION
Содержащиеся в справочниках-каталогах запасные части и детали не предлагаются к продаже, а носят исключительно информационный характер
Дополнительная информация
×
Название:
Номер:
Примечание: