Каталог запасных частей к технике: ГАЗ М20 Победа. Рессора задняя
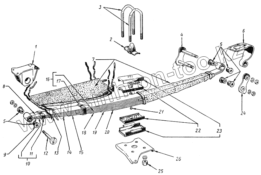
1
2
3
4
5
5
6
7
8
9
10
11
12
13
14
15
16
17
18
19
20
21
22
23
24
25
26
| Позиция на иллюстрации | Заводской номер детали | Название детали | |
|---|---|---|---|
| 250789-П2 | 250789-П2 | Гайка М8х1 | |
| 250551-П8 | 250551-П8 | Гайка М14х1,5 | |
| 252158-П8 | 252158-П8 | Шайба диам 14 пружинная | |
| 252138-П2 | 252138-П2 | Шайба 14.ОТ ОСТ 37.001.115-75 | |
| 20-2912012-Б | 20-2912012-Б | Рессора задняя в сборе | |
| 20-2912413 | 20-2912413 | Накладка задней рессоры левая | |
| 252772-П | 252772-П | Заклепка 8х24 | |
| 252774-П | 252774-П | Заклепка 8х28 крепления кронштейна серьги задней рессоры | |
| 253926-П | 253926-П | Заклепка 8х12 крепления хомута 3-го и 7-го листов задней рессоры | |
| 1 | 20-2912440 | Кронштейн задней рессоры передний в сборе | |
| 2 | 20-2912622 | Буфер задней рессоры | |
| 3 | 20-2912408 | Стремянка задней рессоры | |
| 4 | 20-2912458 | Щека серьги задней рессоры правая с пальцами в сборе | |
| 5 | 20-2912028 | Втулка ушка задней рессоры | |
| 6 | 20-2912446-А | Кронштейн серьги задней рессоры | |
| 7 | 20-2912138-В | Чехлы задней рессоры (комплект для запасных частей) | |
| 8 | 20-2912015 | Лист № 1 коренной задней рессоры со втулками в сборе | |
| 9 | 20-2912102-Б | Лист № 2 задней рессоры | |
| 10 | 20-2912051-Б | Лист № 3 задней рессоры с хомутами в сборе | |
| 11 | 20-2912061-Б | Хомут 3-го листа задней рессоры | |
| 12 | 20-2912474 | Палец переднего кронштейна задней рессоры с шайбой в сборе | |
| 13 | 20-2912104-Б | Лист № 4 задней рессоры | |
| 14 | 20-2912105-Б | Лист № 5 задней рессоры | |
| 15 | 20-2912106-Б | Лист № 6 задней рессоры | |
| 16 | 20-2912052-Б | Лист № 7 задней рессоры с хомутами в сборе | |
| 17 | 20-2912062-Б1 | Хомут 7-го листа задней рессоры | |
| 18 | 20-2912108-Б | Лист № 8 задней рессоры | |
| 19 | 20-2912109-Б | Лист № 9 задней рессоры | |
| 20 | 20-2912110-В | Лист № 10 задней рессоры | |
| 21 | 290701-П2 | Болт 1М8х1х72 центровой задней рессоры | |
| 22 | 20-2912430 | Подушка задней рессоры | |
| 23 | 20-2912432 | Обойма подушки задней рессоры | |
| 24 | 20-2912463 | Щека серьги задней рессоры левая в сборе | |
| 25 | 292845-П8 | Гайка 1М14х1,5 | |
| 26 | 20-2912412 | Накладка задней рессоры правая |
Содержащиеся в справочниках-каталогах запасные части и детали не предлагаются к продаже, а носят исключительно информационный характер